Operation CHARM: Car repair manuals for everyone.
Manuals through 2025 now available!

Our trusted friends have launched a new website named LEMON, which has newer manuals. It also contains all the CHARM manuals.

LEMON is the spiritual successor to CHARM, I recommend you try it!

Link: lemon-manuals.la or lemon-manuals.org.ua

(Some people have issue connecting. LEMON is investigating. For now, use Firefox or change your DNS server)

Or, hide this message: temporarily or permanently

Differential Disassembly

Differential Disassembly

Special Tools Required
^ Holder handle 07JAB-001020A
^ Companion flange holder 07RAB-TB4010B

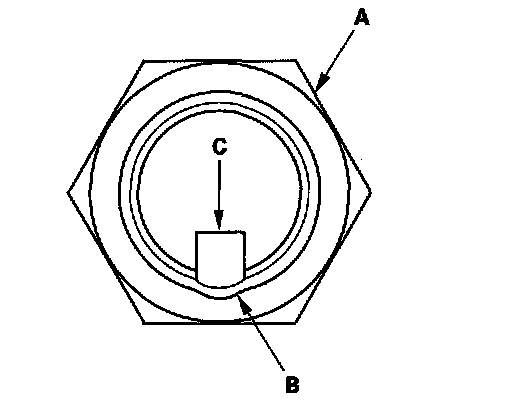
1. Remove the drain plug (A) and the oil filler plug (B) with sealing washers (C).





2. Raise the locknut tab (A) from the groove of the clutch guide, making sure the tab completely clears the groove to prevent damaging the clutch guide.





3. Install the companion flange holder (A) and holder handle (B) on the companion flange.





4. Loosen the locknut (A) counterclockwise so its tab (B) comes out from the groove (C) in the clutch guide.





5. Tighten the locknut (A) until its tab (B) aligns with the groove (C).





6. Remove any dirt from inside the groove in the clutch guide, then loosen the locknut.
7. Remove the locknut (A), the disc spring washer (B), the back-up ring (C), the O-ring (D), and the companion flange (E).





8. Remove the eight mounting bolts (A) in a crisscross pattern in several steps, then remove the torque control differential case (B) and the dowel pins (C).





9. Remove the shim (A) and the clutch assembly (B).





10. Remove the six steel balls (A), the base cam (B), the thrust needle bearings (C), and the pressure plate (D).

NOTE: Do not lose the steel balls.





11. Remove the oil pump driveshaft.





12. Remove the oil pump body assembly (A), the oil pump pin (B), the dowel pins (C), the magnet (D), and the ATF strainer (E).