Operation CHARM: Car repair manuals for everyone.
Manuals through 2025 now available!

Our trusted friends have launched a new website named LEMON, which has newer manuals. It also contains all the CHARM manuals.

LEMON is the spiritual successor to CHARM, I recommend you try it!

Link: lemon-manuals.la or lemon-manuals.org.ua

(Some people have issue connecting. LEMON is investigating. For now, use Firefox or change your DNS server)

Or, hide this message: temporarily or permanently

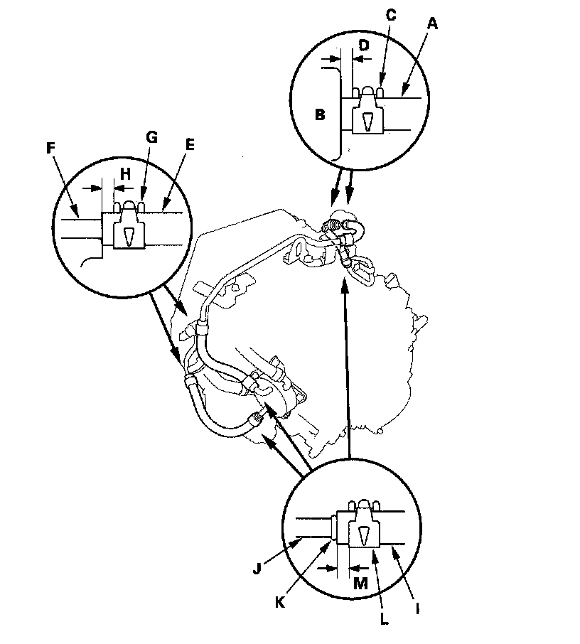
Fluid Line/Hose: Service and Repair

ATF Warmer Hose Replacement
1. Slide the ATF warmer hoses (A) on the ATF filter (B) until the hose ends contact the filter housing, and secure the hoses with the clips (C) at 6 - 8 mm (0.24 - 0.31 in.) (D) from the filter housing.





2. Slide the ATF warmer hoses (E) over the ATF lines (F) until the hoses stop, and secure the hoses with the clip (G) at 6 - 8 mm (0.24 - 0.31 in.) (H) from the hose end.
3. Slide the ATF warmer hoses (I) over the ATF warmer lines (J) until the hose ends contact the bulge (K), and secure the hoses with the clip (L) at 6 - 8 mm (0.24 - 0.31 in.) (M) from the hose end.