Operation CHARM: Car repair manuals for everyone.
Manuals through 2025 now available!

Our trusted friends have launched a new website named LEMON, which has newer manuals. It also contains all the CHARM manuals.

LEMON is the spiritual successor to CHARM, I recommend you try it!

Link: lemon-manuals.la or lemon-manuals.org.ua

(Some people have issue connecting. LEMON is investigating. For now, use Firefox or change your DNS server)

Or, hide this message: temporarily or permanently

ATF Replacement

ATF Replacement

NOTE: Keep all foreign particles out of the transmission.

1. Bring the transmission up to normal operating temperature (the radiator fan comes on).
2. Park the vehicle on the level ground, and turn the engine off.
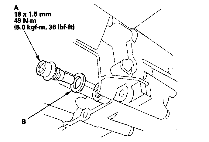
3. Remove the drain plug (A), and drain the automatic transmission fluid (ATF).





4. Reinstall the drain plug with a new sealing washer (B).
5. Refill the transmission with the recommended fluid into the dipstick hole to bring the fluid level up to about midway between the upper mark and lower mark of the dipstick. Always use Honda ATF DW-1 (ATF-Z1 has been replaced with ATF DW-1, Honda Service News Nov 2010) automatic transmission fluid (ATF). Using a nonHonda ATF can affect shift quality.

Automatic Transmission Fluid Capacity:
2.4 L (2.5 US qt, 2.1 Imp qt) at change
5.9 L (6.2 US qt, 5.2 Imp qt) at overhaul

6. Check that the fluid level is between the upper mark and lower mark of the dipstick.
7. Insert the dipstick back into the transmission.
8. Connect the HDS to the DLC (A).

NOTE: If the HDS does not communicate with the PCM, troubleshoot the DLC circuit.





9. Turn the ignition switch ON (II), and reset the ATF life with the HDS.
10. 4-door model: If the maintenance minder required to replace the ATF, reset the maintenance minder, and this procedure is complete. If the maintenance minder did not require to replace the ATF, go to step 11.
2-door model: If the maintenance minder required to replace the ATF, reset the maintenance minder, and this procedure is complete. If the maintenance minder did not require to replace the ATF, notify the customer that the maintenance minder term is not reset for the item that was replaced and the maintenance minder will show to replace the ATF before the actual maintenance timing.

11. Select BODY ELECTRICAL with the HDS.
12. Select ADJUSTMENT in the GAUGES MENU with the HDS.
13. Select RESET in the MAINTENANCE MINDER with the HDS.
14. Select RESETTING THE ATF with the HDS.

NOTE: If you changed the engine oil at the same time with the ATF, select RESETTING THE ENGINE OIL LIFE AND ATF with the HDS instead.