Operation CHARM: Car repair manuals for everyone.
Manuals through 2025 now available!

Our trusted friends have launched a new website named LEMON, which has newer manuals. It also contains all the CHARM manuals.

LEMON is the spiritual successor to CHARM, I recommend you try it!

Link: lemon-manuals.la or lemon-manuals.org.ua

(Some people have issue connecting. LEMON is investigating. For now, use Firefox or change your DNS server)

Or, hide this message: temporarily or permanently

A/T Clutch Pressure Control Solenoid Valve C Test

A/T Clutch Pressure Control Solenoid Valve C Test
1. Connect the HDS to the DLC (A).





2. Choose Clutch Pressure Control (Linear) Solenoid C in Miscellaneous Test Menu on the HDS.

NOTE: If the HDS does not communicate with the PCM, troubleshoot the DLC circuit.

3. Test A/T clutch pressure control solenoid valve C with the HDS.
4. Follow the instructions indicated on the HDS by the test result. If the HDS has not determined the cause of the failure, remove A/T clutch pressure control solenoid valves B and C, and test.
5. Make sure you have the anti-theft code for the audio system and write down the audio presets.
6. Disconnect the battery negative terminal, then disconnect the battery positive terminal.
7. Remove the battery hold-down bracket, then remove the battery and battery tray.
8. Remove the battery base.
9. Disconnect the A/T clutch pressure control solenoid valve C connector.





10. Measure A/T clutch pressure control solenoid valve C resistance between solenoid valve C terminals No. 1 and No. 2.

Standard: 3-10 ohms

11. If the resistance is out of the standard, replace A/T clutch pressure control solenoid valves B and C.
12. Connect the battery positive terminal to A/T clutch pressure control solenoid valve C connector terminal No. 1, and connect the battery negative terminal to terminal No. 2. A clicking sound should be heard.
13. If no sound is heard, remove A/T clutch pressure control solenoid valves B and C.
14. Remove the mounting bolts, harness clamp bracket (A), and A/T clutch pressure control solenoid valves B and C.





15. Remove the ATF joint pipes (D), O-rings (E), and gasket (F).
16. Check the fluid passage of the A/T clutch pressure control solenoid valve for dust or dirt, and clean the passage.
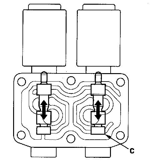
17. Connect A/T clutch pressure control solenoid valve C connector terminal No. 1 to the battery positive terminal, and connect terminal No. 2 to the battery negative terminal. Make sure A/T clutch pressure control solenoid valve C move.





18. Disconnect one of the battery terminals, and check valve movement.

NOTE: You can see valve movement through the fluid passage in the mounting surface of the A/T clutch pressure control solenoid valves B and C body.

19. If the valve binds or moves sluggishly, or if the solenoid valve does not operate, replace A/T clutch pressure control solenoid valves B and C.
20. Install a new gasket on the transmission housing, and install the ATF joint pipes.
21. Install new O-rings over the ATF joint pipes.
22. Install A/T clutch pressure control solenoid valves B and C, and harness clamp bracket.
23. Check the A/T clutch pressure control solenoid valve B and C connectors for rust, dirt, or oil, then connect the connectors securely.
24. Install the battery base, battery tray, and battery, then secure the battery with its hold-down bracket.
25. Connect the battery terminals.
26. Enter the anti-theft code for the audio system, then enter the audio presets.
27. Do the power window control unit reset procedure.
28. Set the clock.