Operation CHARM: Car repair manuals for everyone.
Manuals through 2025 now available!

Our trusted friends have launched a new website named LEMON, which has newer manuals. It also contains all the CHARM manuals.

LEMON is the spiritual successor to CHARM, I recommend you try it!

Link: lemon-manuals.la or lemon-manuals.org.ua

(Some people have issue connecting. LEMON is investigating. For now, use Firefox or change your DNS server)

Or, hide this message: temporarily or permanently

Transmission Removal

Transmission Removal

Special Tools Required
^ Engine hanger adapter VSB02C000015
^ Engine support hanger, A and Reds AAR-T-12566
^ Front subframe adapter VSB02C000016 (Available through the Honda Tool and Equipment Program 1-888-424-6857)

NOTE: Use fender covers to avoid damaging painted surfaces.

1. Make sure you have the anti-theft code for the audio system and write down the audio presets.
2. Raise the vehicle on a lift, and make sure it is securely supported.
3. Remove the splash shield.
4. Remove the drain plug (A), and drain the automatic transmission fluid (ATF). Reinstall the drain plug with a new sealing washer (B).





5. Disconnect the battery negative terminal, then disconnect the battery positive terminal.
6. Remove the air cleaner assembly and the air intake duct.
7. Remove the battery hold-down bracket, then remove the battery and battery tray.
8. Remove the harness clamp from the battery base, then remove the battery base.
9. Remove the transmission ground terminal (A).





10. Disconnect the 2nd clutch transmission fluid pressure switch connector (B) and A/T clutch pressure control solenoid valve A connector (C), and remove the harness clamps (D) from the clamp brackets (E).
11. Disconnect the output shaft (countershaft) speed sensor connector (A) and input shaft (mainshaft) speed sensor connector (B).





12. Disconnect the transmission range switch connector (C).
13. Disconnect the 3rd clutch transmission fluid pressure switch connector.





14. Disconnect the shift solenoid harness connector (A), A/T clutch pressure control solenoid valve B connector (B), and solenoid valve C connector (C), then remove the harness clamps (D) from the clamp brackets (E).





15. Remove the ATF cooler hoses (A) from the ATF cooler lines (B). Turn the ends of the ATF cooler hoses up to prevent ATF from flowing out, then plug the ATF cooler hoses and lines.





16. Check for any signs of leakage at the hose joints.
17. Remove the bolts (A) securing the water line and harness brackets (B).





18. Attach the special tool adapter (VSB02C000015) to the threaded hole (A) in the cylinder head.





19. Remove the under-hood fuse/relay box from its bracket.
20. Install the engine support hanger (AAR-T-12566) to the vehicle, and attach the hook (A) to the special tool adapter (VSB02C000015) Tighten the wing nut (B) by hand, and lift and support the engine.





21. Insert a 5 mm hex wrench (A) in the top of the ball joint pin (B), and remove the nut (C), then separate the stabilizer link (D) from the lower arm.





22. Remove the lock pin (E) and castle nuts (F). Install the ball joint thread protector (07AAF-SDAA100) on the ball joint threads, and separate the lower arms (G) from the knuckles.
23. Remove the torque converter cover (A), and remove the eight drive plate bolts (B) while rotating the crankshaft pulley.





24. Remove the shift cable cover (A), then remove the bolts (B) securing the shift cable bracket (C), and the shift cable holder (D).





25. Pry up the lock tab of the lock washer (E), and remove the lock bolt (F) and the lock washer, then separate the control lever (G) from the selector control shaft Do not bend the shift cable excessively.
26. Remove the shift cable cover bracket.





27. Disconnect the ATF cooler hose (A) from the ATF cooler line (B), then plug the end of the hose.





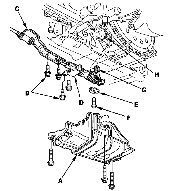
28. Remove the front mount bolt (C) and nut (D).
29. Remove the rear mount bolts.





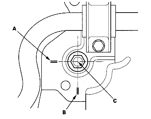
30. Make the appropriate reference lines at positions A and B that line up with the center of the front subframe mounting bolts (C).





31. Attach the special tool to the front subframe with hanging the hook of the special tool over the front of the front subframe, then tighten the special tool screw.





32. Raise the jack and line up the slots in the arms with the bolt holes on the corner of the jack base, then attach them with the bolts securely.
33. Remove the four front subframe mounting bolts, then lower the front subframe.





34. 4WD model: Make a reference mark (A) across the propeller shaft (B) and the transfer companion flange (C), then separate the propeller shaft from the transfer assembly.





35. Pry the left driveshaft out of the differential.
36. Remove the driveshafts from the differential and intermediate shaft.





37. Remove the intermediate shaft cover (A).





38. Remove the intermediate shaft (B). Coat all precision finished surfaces with clean engine oil, then tie plastic bags over the driveshaft and intermediate shaft ends.
39. Place a jack under the transmission.
40. Remove the transmission housing upper mounting bolts.





41. Remove the transmission mount bracket bolt (A) and nuts (B), then remove the transmission mount bolt (C).





42. Remove the transmission housing front mounting bolts located on front lower of the transmission.





43. Remove the transmission housing rear mounting bolts located on the rear lower of the transmission.





44. Slide the transmission away from the engine to remove it from the vehicle.
45. Remove the torque converter assembly.





46. Remove the front mount.





47. Remove the rear mount/bracket.

NOTE: The illustration shows 4WD model; 2WD model is similar.





48. Remove the air cleaner housing mounting bracket.





49. Inspect the drive plate, and replace it if it's damaged.