Operation CHARM: Car repair manuals for everyone.
Manuals through 2025 now available!

Our trusted friends have launched a new website named LEMON, which has newer manuals. It also contains all the CHARM manuals.

LEMON is the spiritual successor to CHARM, I recommend you try it!

Link: lemon-manuals.la or lemon-manuals.org.ua

(Some people have issue connecting. LEMON is investigating. For now, use Firefox or change your DNS server)

Or, hide this message: temporarily or permanently

Front Seat-Back Cover/Pad Replacement

Front Seat-back Cover/Pad Replacement

Special Tools Required

KTC trim tool set SOJATP2014 *
* Available through the American Honda Tool and Equipment Program

SRS components are located in this area. Review the SRS component locations and the precautions and procedures before doing repairs or service.

- Check the operation of the driver's seat position sensor after any of these actions:
- Driver's seat position sensor replacement
- Cover plate (front side of driver's seat slide rail) replacement

- Calibrate the ODS unit after any of these actions:
- Front passenger's seat replacement (including any seat components)
- Replacement of the seat weight sensors
- After a vehicle collision

NOTE:
- Take care not to tear the seams or damage the seat covers.
- On the passenger's seat, do not touch the ODS sensor in the seat-back pad, and keep it away from oil. Oil can corrode the sensor causing it to fail.
- Put on gloves to protect your hands.

1. Remove the front seat:
- Driver's seat.
- Passenger's seat.

2. Separate the seat-back and the seat cushion.




3. Remove the retainer clip (A), then remove the slide knob (B). Remove the screw and release the hooks (C), then remove the slide knob trim (D).




4. Release the hook (A), and unzip the seat-back cover (B).




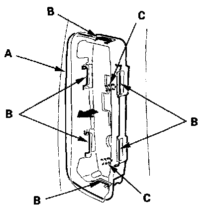
5. Fold back the seat-back cover (A), then release the hooks (B) and hook springs (C). Pull the side airbag harness (D) and the slide cable (E) on each of the seats, and the ODS subharness (F) on the passenger's seat out through the harness guides (G). The passenger's seat is shown; the driver's seat is similar.




6. Remove the side airbag, and release the hooks (A) from the side airbag module holder (B). Detach the clips (C) by pulling the holder back, then remove it.
7. Passenger's seat: Remove the ODS unit cover, and disconnect the OPDS sensor connectors from the ODS unit.




8. Passenger's seat: Release the wire ties (A) fastening the OPDS sensor harnesses (B) to the seat-back frame spring (C).




9. Pull out the head restraint guides (A) while pinching the end of the guides, and remove them.




10. Remove the seat-back cover/pad (A) from the seat-back frame (B). Take care not to tear the pad while removing the outside shoulder portion of it from the slide bracket (C) of the frame.

11. Install the seat-back cover/pad in the reverse order of removal, and note these items:
- Reinitialize the ODS unit.
- Make sure the slide cable is connected securely.
- Replace the wire ties with new ones.
- To prevent wrinkles when installing a seat-back cover, make sure the material is stretched evenly over the pad before securing the hooks and hook springs.