Operation CHARM: Car repair manuals for everyone.
Manuals through 2025 now available!

Our trusted friends have launched a new website named LEMON, which has newer manuals. It also contains all the CHARM manuals.

LEMON is the spiritual successor to CHARM, I recommend you try it!

Link: lemon-manuals.la or lemon-manuals.org.ua

(Some people have issue connecting. LEMON is investigating. For now, use Firefox or change your DNS server)

Or, hide this message: temporarily or permanently

Rear Seat-Back Latch Replacement

Rear Seat-back Latch Replacement

Special Tools Required

KTC trim tool set SOJATP2014 *
* Available through the American Honda Tool and Equipment Program

NOTE:
- Put on gloves to protect your hands.
- Take care not to tear the seams or damage the seat covers.
- Use the appropriate tool from the KTC trim tool set to avoid damage when removing components.
- The left seat-back is shown; the right seat-back is similar.




1. While pulling the latch lever (A), remove the screw, then remove the latch cover (B).




2. Remove the screws (A) and detach the clips (B), then remove the striker hole cover (C).




3. Remove the bolts securing the seat-back latch (A).




4. Carefully pull out the seat-back latch (A) out through the striker hole (B) in the seat-back cover. Rotate the latch as shown and disconnect the latch lever rod (C), then remove the latch.




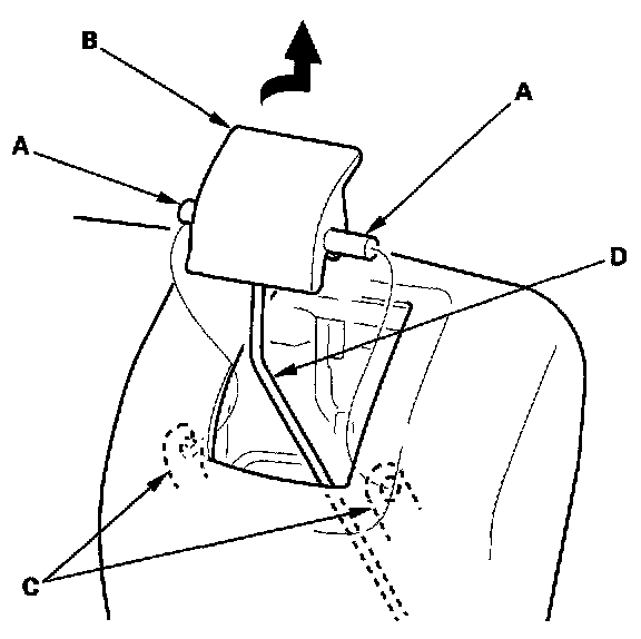
5. Release the pivot pins (A) of the latch lever (B) from the seat-back frame (C), then remove the lever with the latch lever rod (D).

6. Install the latch in the reverse order of removal, and note these items:
- Check for damaged or stress-whitened clips or the rod fastener, and if necessary, replace them with new ones.
- Make sure the latch lever rod is connected securely.
- Push the clips into place securely.
- Make sure the seat-back locks in two positions securely and unlocks properly.