Operation CHARM: Car repair manuals for everyone.
Manuals through 2025 now available!

Our trusted friends have launched a new website named LEMON, which has newer manuals. It also contains all the CHARM manuals.

LEMON is the spiritual successor to CHARM, I recommend you try it!

Link: lemon-manuals.la or lemon-manuals.org.ua

(Some people have issue connecting. LEMON is investigating. For now, use Firefox or change your DNS server)

Or, hide this message: temporarily or permanently

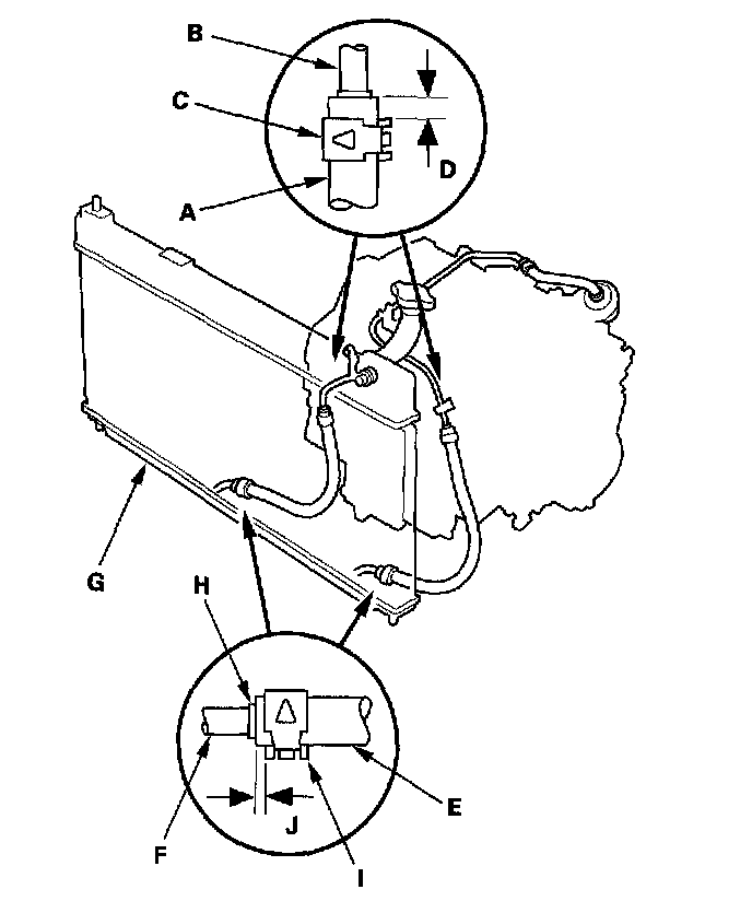
Fluid Line/Hose: Service and Repair

ATF Cooler Hose Replacement
1. Insert the ATF hoses (A) over the ATF cooler lines (B) on the transmission until the hoses contact the bracket of the ATF lines.





2. Install the clamp (C) to secure the hoses at 6 - 8 mm (0.2 - 0.3 in.) (D) from the hose end.
3. Install the ATF cooler hoses (E) over the lines (F) on the ATF cooler (G); insert the hoses to the bulge (H) of the lines.
4. Install the clamp (I) to secure the hoses at 2 - 4 mm (0.1 - 0.2 in.) (J) from the hose end.