Operation CHARM: Car repair manuals for everyone.
Manuals through 2025 now available!

Our trusted friends have launched a new website named LEMON, which has newer manuals. It also contains all the CHARM manuals.

LEMON is the spiritual successor to CHARM, I recommend you try it!

Link: lemon-manuals.la or lemon-manuals.org.ua

(Some people have issue connecting. LEMON is investigating. For now, use Firefox or change your DNS server)

Or, hide this message: temporarily or permanently

Off Vehicle Inspection

Transfer Assembly

Inspection

NOTE: To prevent damage to the transfer housing, always use soft jaws or equivalent materials between the transfer housing and a vise.

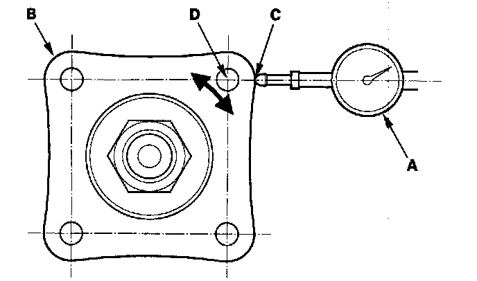
Transfer Gear Backlash Measurement
1. Set a dial indicator (A) on the transfer companion flange (B); position dial indicator tip (C) on the direct extension of the bolt hole canter (D).





2. Measure the transfer gear backlash.

Standard: 0.06-0.17 mm (0.002-0.007 in.)

Total Starting Torque Measurement
3. Rotate the transfer companion flange several times to seat the tapered roller bearings.
4. Measure the starting torque at the companion flange (A) using a torque wrench (B) and a socket (C).





5. If the measurements are out of standard, disassemble the transfer assembly and repair it.