Manuals through 2025 now available!
Our trusted friends have launched a new website named LEMON, which has newer manuals. It also contains all the CHARM manuals.
LEMON is the spiritual successor to CHARM, I recommend you try it!
Link:
lemon-manuals.la or
lemon-manuals.org.ua
(Some people have issue connecting. LEMON is investigating. For now, use Firefox or change your DNS server)
Or, hide this message:
temporarily or
permanently
Navigation Module: Service and Repair
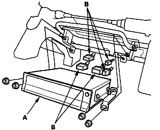
Navigation Unit Removal/ InstallationNOTE: If the navigation unit is replaced or disconnected, a map match must be done.
1.
Remove the bolts, then pull out the navigation unit (A).
2.
Disconnect the connectors (B), then remove the navigation unit.
3.
Remove the screws and the bracket (A).
4.
Install the navigation unit in the reverse order of removal.