Operation CHARM: Car repair manuals for everyone.
Manuals through 2025 now available!

Our trusted friends have launched a new website named LEMON, which has newer manuals. It also contains all the CHARM manuals.

LEMON is the spiritual successor to CHARM, I recommend you try it!

Link: lemon-manuals.la or lemon-manuals.org.ua

(Some people have issue connecting. LEMON is investigating. For now, use Firefox or change your DNS server)

Or, hide this message: temporarily or permanently

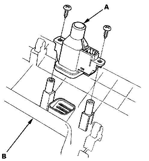
Cabin Temperature Sensor / Switch: Service and Repair

In-car Temperature Sensor Replacement

1. Remove the driver's dashboard lower cover.




2. Remove the self-tapping screws and the in-car temperature sensor (A) from the driver's dashboard lower cover (B).
3. Install the sensor in the reverse order of removal. Be sure to connect the air hose securely.