Operation CHARM: Car repair manuals for everyone.
Manuals through 2025 now available!

Our trusted friends have launched a new website named LEMON, which has newer manuals. It also contains all the CHARM manuals.

LEMON is the spiritual successor to CHARM, I recommend you try it!

Link: lemon-manuals.la or lemon-manuals.org.ua

(Some people have issue connecting. LEMON is investigating. For now, use Firefox or change your DNS server)

Or, hide this message: temporarily or permanently

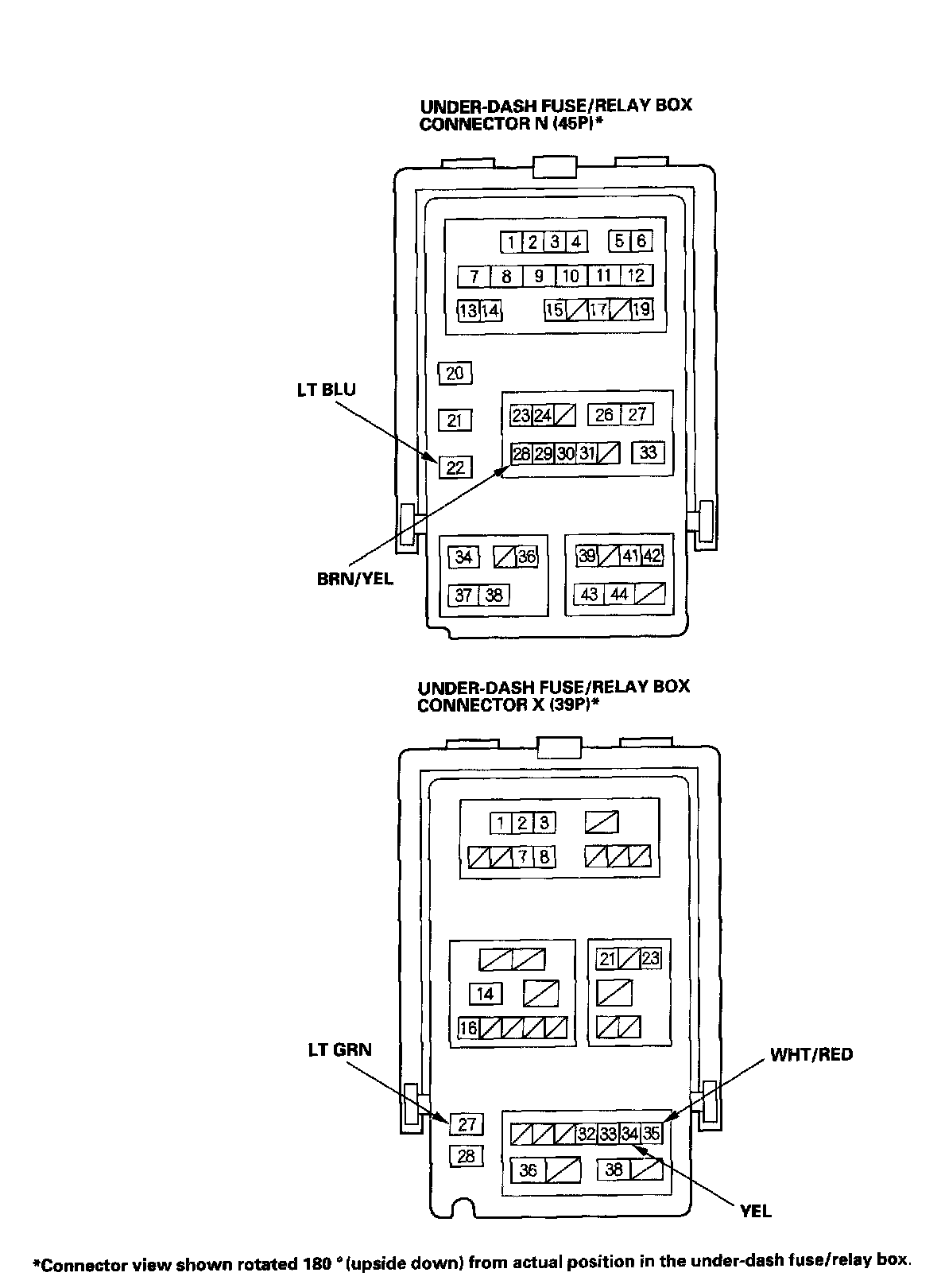
MICU Input Test

MICU Input Test

NOTE: Check the No. 22 (120 A), No. 23 (50 A), No. 15 (40 A) fuse in the under-hood fuse/relay box before troubleshooting.

1. Before troubleshooting the multiplex integrated control system, troubleshoot the B-CAN System Diagnosis Test mode A.
2. Turn the ignition switch OFF.
3. Remove the left front door sill trim and left kick panel.







4. Disconnect the under-dash fuse/relay box connectors.

NOTE: All connector views are wire side of female terminals.

5. Inspect the connector and socket terminals to be sure they are all making good contact.
- If the terminals are bent, loose or corroded, repair them as necessary, and recheck the system.
- If the terminals look OK, Go to step 6.







6. With the connectors still disconnected from the under-dash fuse/relay box, make these input tests at the connector(s).
- If any test indicates a problem, find and correct the cause, then recheck the system.
- If all the input tests prove OK, Go to step 7.




7. Reconnect the connectors to the under-dash fuse/relay box, and make sure these input tests at the appropriate connectors on the under-dash fuse/relay box.
- If any test indicates a problem, find and correct the cause, then recheck the system.
- If all the input tests prove OK, the MICU must be faulty, replace the under-dash fuse/relay box assembly.