Operation CHARM: Car repair manuals for everyone.
Manuals through 2025 now available!

Our trusted friends have launched a new website named LEMON, which has newer manuals. It also contains all the CHARM manuals.

LEMON is the spiritual successor to CHARM, I recommend you try it!

Link: lemon-manuals.la or lemon-manuals.org.ua

(Some people have issue connecting. LEMON is investigating. For now, use Firefox or change your DNS server)

Or, hide this message: temporarily or permanently

Reassembly

Reassembly

Special Tools Required
^ Driver, 40 mm I.D. 07746-0030100
^ Attachment, 35 mm I.D. 07746-0030400
^ Driver 07749-0010000
^ Seal driver attachment 07GAD-PG40100 or 07GAD-PG40101
^ Companion flange holder 07XAB-0020100
^ Attachment, 72 x 75 mm 07746-0010600

NOTE:
^ While reassembling the transfer assembly:
- Check and adjust the transfer gear tooth contact.
- Measure and adjust the transfer gear backlash.
- Check and adjust the tapered roller bearing starting torque.
^ Coat all parts with ATF during reassembly.
^ Replace the tapered roller bearing and the bearing outer race as a set if either part is replaced.
^ Replace the transfer hypoid drive gear and the transfer output shaft (hypoid gear) as a set if either part is replaced.

1. Select the 40 mm thrust shim if the transfer output shaft (hypoid gear) is replaced. Calculate the thickness of the 40 mm thrust shim using the formula below, and select the shim from the following table.








2. Select the 40 mm thrust shim if the tapered roller bearing on the transfer output shaft (hypoid gear) is replaced. Measure the thickness of the replacement bearing and the existing bearing, and calculate the difference of the bearing thickness. Adjust the thickness of the existing 40 mm thrust shim by the amount of difference in bearing thickness, and select the replacement 40 mm thrust shim.
3. Install the 40 mm thrust shim (A) on the transfer output shaft (hypoid gear) (B), then install the tapered roller bearing (C) with the special tool and a press.





4. Place the tapered roller bearing on the bearing outer race of the companion flange side of the transfer housing.
5. Install the new oil seal on the transfer housing with the special tools and a press.





6. Install the transfer output shaft (hypoid gear) (A) in the transfer housing (B). Do not install the thrust washers and transfer spacer on the transfer output shaft.





7. Install the companion flange (A), conical spring washer (B) in the direction shown, and locknut (C) on the transfer output shaft (hypoid gear) (D). Do not install the O-ring and back-up ring on the transfer output shaft.





8. Secure the transfer housing (A) in a bench vise (B) with soft jaws, then install the special tool on the companion flange. To prevent damage to the transfer housing, always use soft jaws or equivalent materials between the transfer housing and the vise.
9. Tighten the locknut while measuring the starting torque of the transfer output shaft (hypoid gear) so the starting torque is within 1.15-1.71 Nm (11.7 - 17.4 kgf-cm, 10.2-15.1 lbf-in.).

NOTE: Do not stake the locknut in this step.





10. Apply Prussian Blue to both side of the transfer hypoid drive gear teeth lightly and evenly.
11. Install the tapered roller bearing (A), 25 mm thrust shim (B), and transfer hypoid drive gear/shaft assembly (C) in the transfer housing (D).





12. Install the transfer cover (E) and the bolts, and tighten the bolts. Do not install the O-ring on the transfer cover.
13. Rotate the companion flange several times to seat the tapered roller bearings.
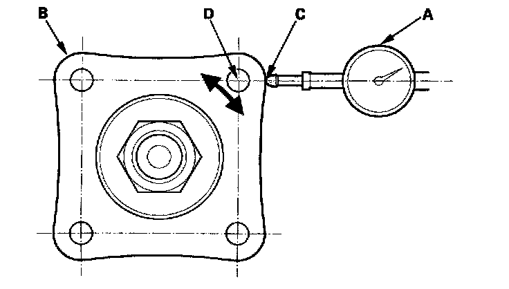
14. Set a dial indicator (A) on the transfer companion flange (B); position dial indicator tip (C) on the direct extension of the bolt hole center (D).





15. Measure the transfer gear backlash.

Standard: 0.06-0.17 mm (0.002-0.007 in.)

16. Remove the transfer cover, transfer hypoid drive gear/shaft assembly, and check the transfer hypoid drive gear tooth contact pattern.





17. If the measurement of the backlash is out of the standard, adjust the transf4r gear backlash with the 40 mm thrust shim and recheck. Do not use more than two 40 mm thrust shims to adjust the transfer gear backlash.
18. If the transfer gear tooth contact is incorrect, adjust the transfer gear tooth contact with the 25 mm or 40 mm thrust shim. Do not use more than two shims of each thrust shim to adjust the tooth contact.
^ Toe Contact
Use a thinner 40 mm thrust shim to move the transfer output shaft (hypoid gear) away from the transfer hypoid drive gear. Because this movement causes the transfer gear backlash to change, move the transfer hypoid drive gear toward the transfer output shaft (hypoid gear) to adjust the transfer gear backlash as follows:
- Reduce the thickness of the 25 mm thrust shim.
- Increase the thickness of the 80 mm thrust shim by amount of reduce thickness of the 25 mm thrust shim.
^ Heel Contact
Use a thicker 40 mm thrust shim to move the transfer output shaft (hypoid gear) toward the transfer hypoid drive gear, Because this movement causes the transfer backlash to change, move the transfer hypoid drive gear away from the transfer output shaft (hypoid gear) to adjust the transfer gear backlash as follows:
- Increase the thickness of the 25 mm thrust shim.
- Reduce the thickness of the 80 mm thrust shim by the amount of increase thickness of the 25 mm thrust shim.
^ Flank Contact
Use a thicker 25 mm thrust shim to move the transfer hypoid drive gear away from the transfer output shaft (hypoid gear).
Flank contact must be adjusted within the limits of the transfer gear backlash. If the backlash exceeds the limits, adjust as described under Heel Contact.
^ Face Contact
Use a thinner 25 mm thrust shim to move the transfer hypoid drive gear toward the transfer output shaft (hypoid gear).
Face contact must be adjusted within the limits of the transfer gear backlash, If the backlash exceeds the limits, adjust as described under Toe Contact.





19. Remove the transfer cover (A), transfer hypoid drive gear/shaft assembly (B), 25 mm thrust shim (C), and tapered roller bearing (D) from the transfer housing (E) after adjusting the transfer gear backlash or transfer gear tooth contact.





20. Secure the transfer housing (A) in a bench vise (B) with soft jaws, then install the special tool on the companion flange. To prevent damage to the transfer housing, always use soft jaws or equivalent materials between the transfer housing and the vise.





21. Remove the locknut (A), conical spring washer (B), and companion flange (C) from the transfer output shaft (hypoid gear) (D).





22. Remove the transfer output shaft (hypoid gear) from the transfer housing.
23. Install the two thrust washers (A) and the new transfer spacer (B) on the transfer output shaft (hypoid gear) (C) in the direction shown, and install them in the transfer housing (D).





24. Coat the threads of the locknut and transfer output shaft (hypoid gear) with ATF.
25. Install the companion flange (A), new O-ring (B), back-up ring (C), new conical spring washer (D), and new locknut (E) on the transfer output shaft (hypoid gear) (F). Install the conical spring washer in the direction shown.





26. Secure the transfer housing (A) in a bench vise (B) with soft jaws, then install the special tool on the companion flange. To prevent damage to the transfer housing, always use soft jaws or equivalent materials between the transfer housing and the vise.





27. Tighten the locknut while measuring the starting torque of the transfer output shaft (hypoid gear) so the starting torque is within 1.15-1.71 Nm (11.7 - 17.4 kgf-cm, 10.2-15.1 lbf-in.).

Tightening Torque: 108-294 Nm (11.0-30.0 kgf-m, 79.6-217 lbf-ft)
Starting Torque: 1.15-1.71 Nm (11.7-17.4 kgf-cm, 10.2-15.1 lbf-in.)

NOTE:
^ Rotate the companion flange several times to seat the tapered roller bearings, then measure the starting torque.
^ If the starting torque exceeds 1.71 Nm (17.4 kgf-cm, 15.1 lbf-in), replace the transfer spacer and reassemble the parts. Do not adjust the torque with the locknut loose.
^ If the tightening torque exceeds 294 Nm (30.0 kgf-m, 217 lbf-ft), replace the transfer spacer and reassemble the parts.

28. Remove the special tools.
29. Stake the locknut in depth (A) of 0.7-1.2 mm (0.03-0.05 in.) using a 3.5 mm punch (B).





30. Install the tapered roller bearing (A), 25 mm thrust shim (B), and transfer hypoid drive gear/shaft assembly (C) in the transfer housing (D).





31. Temporarily install the transfer cover (E) without the O-ring. Install and tighten the bolts.
32. Secure the transfer housing (A) in a bench vise (B) with soft jaws, then install the special too[ on the companion flange. To prevent damage to the transfer housing, always use soft jaws or equivalent materials between the transfer housing and the vise.





33. Rotate the transfer companion flange (C) several times to seat the tapered roller bearings.
34. Measure the starting torque at the companion flange using a torque wrench (D) and a socket (E).

Total Starting Torque: 3.20-4.16 Nm (32.6-42.4 kgf-cm, 28.3-36.8 lbf-in.)

35. Remove the transfer cover.
36. If the measurement is out of standard, remove the bearing outer race (A) and 80 mm thrust shim (B) from the transfer cover (C). If the bearing outer race is press-fitted, remove the bearing outer race by heating the cover to about 212° F (100° C) with a heat gun (D). Do not heat the cover more than 212° F (100° C).
If the measurement is within the standard, go to step 41.





37. Measure the thickness of removed 80 mm thrust shim, and select the new 80 mm shim.





38. Install the 80 mm trust shim (A) and bearing outer race (B) in the transfer cover (C). If you heated the cover, let it cool to room temperature before installing the thrust shim.





39. Drive the outer race securely in the cover with the special tools so there is no clearance between the outer race, thrust shim, and cover.





40. After replacing the 80 mm thrust shim, recheck and make sure that the total starting torque is within the specification.
41. Install the new O-ring (A) on the transfer cover (B), then install the cover on the transfer housing (C).





42. Remove the filler plug (A), then refill the transfer with transfer fluid (hypoid gear oil) into the filler hole. Use a SAE 90 or SAE 80W-90 viscosity hypoid gear oil, API classified GL4 or GL5 only.





43. Install the filler plug with a new sealing washer (B).