Operation CHARM: Car repair manuals for everyone.
Manuals through 2025 now available!

Our trusted friends have launched a new website named LEMON, which has newer manuals. It also contains all the CHARM manuals.

LEMON is the spiritual successor to CHARM, I recommend you try it!

Link: lemon-manuals.la or lemon-manuals.org.ua

(Some people have issue connecting. LEMON is investigating. For now, use Firefox or change your DNS server)

Or, hide this message: temporarily or permanently

Back Window Switch Test/Replacement

Back Window Switch Test/ Replacement

1. Remove the driver's door panel.




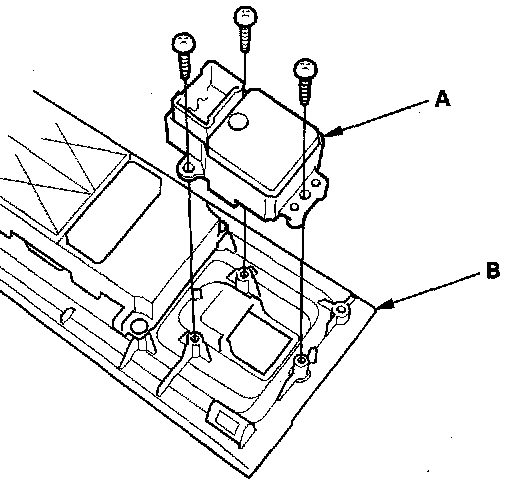
2. Remove the three mounting screws, then remove the back window switch (A) from the switch panel (B).
3. Swap the back window switch with another known-good switch and test. If the original back window switch is faulty; replace it.
4. Install in the reverse order of removal.
5. Reset the power window control unit.