Operation CHARM: Car repair manuals for everyone.
Manuals through 2025 now available!

Our trusted friends have launched a new website named LEMON, which has newer manuals. It also contains all the CHARM manuals.

LEMON is the spiritual successor to CHARM, I recommend you try it!

Link: lemon-manuals.la or lemon-manuals.org.ua

(Some people have issue connecting. LEMON is investigating. For now, use Firefox or change your DNS server)

Or, hide this message: temporarily or permanently

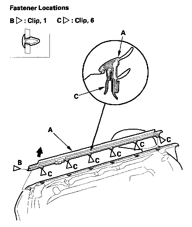
Front Door Window Glass Weatherstrip: Service and Repair

Door Glass Outer Weatherstrip Replacement

NOTE:
- Put on gloves to protect your hands.
- Take care not to scratch the door and door molding.

1. Remove the door sash holder.




2. Starting at the rear, pry the outer weatherstrip (A) up, and detach the clips (B, C).
3. Install the weatherstrip in the reverse order of removal, and note these items:
- Check for damaged or stress-whitened clips, and replace them with new ones.
- Push the clips into place securely.