Operation CHARM: Car repair manuals for everyone.
Manuals through 2025 now available!

Our trusted friends have launched a new website named LEMON, which has newer manuals. It also contains all the CHARM manuals.

LEMON is the spiritual successor to CHARM, I recommend you try it!

Link: lemon-manuals.la or lemon-manuals.org.ua

(Some people have issue connecting. LEMON is investigating. For now, use Firefox or change your DNS server)

Or, hide this message: temporarily or permanently

Clockspring Assembly / Spiral Cable: Service and Repair

Cable Reel Replacement

Removal ('06-07 Models)

1. Make sure the front wheels are aligned straight ahead.
2. Disconnect the negative cable from the battery, and wait at least 3 minutes.
3. Remove the driver's airbag.
4. Remove the steering wheel.




5. Remove the column cover screws (A), then remove the column covers (B, C).




6. Disconnect the SRS main harness 4P connector (A) from the cable reel (B), then disconnect the dashboard wire harness 3P connector (C) from the cable reel.




7. Release the lock tab (A) under the cable reel connector with a 90° hook shaped tool (B). Slide the tool below the cable reel connector just above the lock tab.

Installation ('06-07 Models)

1. Before installing the steering wheel, the front wheels should be aligned straight ahead.
2. Disconnect the negative cable from the battery, and wait at least 3 minutes.




3. Set the turn signal canceling sleeve (A) so that the projections (B) are aligned vertically.




4. Carefully install the cable reel (A) on the steering column shaft. Then connect the 3P connector (B) to the cable reel, and connect the 4P connector (C) to the SRS main harness.
5. Install the steering column covers.




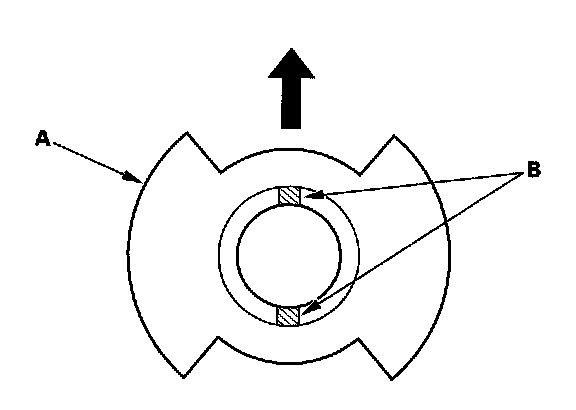
6. If necessary, center the cable reel. (New replacement cable reels come centered.) Do this by first rotating the cable reel clockwise until it stops. Then rotate it counterclockwise (about 2 1/2 turns) until the arrow mark on the cable reel label points straight up.




7. Position the two tabs (A) of the turn signal canceling sleeve (B) as shown, and install the steering wheel on to the steering column shaft, making sure the steering wheel hub (C) engages the pins (D) of the cable reel and tabs of the canceling sleeve. Do not tap on the steering wheel or steering column shaft when installing the steering wheel.




8. Install the steering wheel bolt (A), and tighten it to 39 N-m (4.0 kgf-m, 29 lbf-ft).
9. Connect the cruise control switch connector (B).
10. Install the driver's airbag.
11. Reconnect the negative cable to the battery.
12. After installing the cable reel, confirm proper system operation:
- Turn the ignition switch ON (II); the SRS indicator should come on for about 6 seconds and then go off.
- After the SRS indicator has turned off, turn the steering wheel fully left and right to confirm the indicator does not come on.
- Make sure the horn works.
- Make sure the cruise control works.
- Make sure there are no DTCs.