Operation CHARM: Car repair manuals for everyone.
Manuals through 2025 now available!

Our trusted friends have launched a new website named LEMON, which has newer manuals. It also contains all the CHARM manuals.

LEMON is the spiritual successor to CHARM, I recommend you try it!

Link: lemon-manuals.la or lemon-manuals.org.ua

(Some people have issue connecting. LEMON is investigating. For now, use Firefox or change your DNS server)

Or, hide this message: temporarily or permanently

Differential Disassembly

Differential Disassembly

Differential:




Differential:





Special Tools Required
^ Holder handle 07JAB-001020A
^ Companion flange holder 07RAB-TB4010B





1. Carefully clamp the rear differential in a vise.





2. Pry out the output shafts (A) with the pry bars (B).





3. Remove the output shafts.





4. Remove the ten mounting bolts in a crisscross pattern in several steps, then remove the differential case assembly.





5. Make a mark on the bearing cap, adjustment screw, and differential carrier.





6. Remove the lock plates and bearing caps.





7. Remove the adjustment screws (A), bearing outer races (B), and Torsen LSD assembly (C).





8. Install the special tools on the companion flange, then remove the locknut (A) and pinion washer (B).





9. Remove the companion flange using a commercially available bearing puller as shown.





10. Remove the drive pinion (A) and pinion spacer (B) by tapping on the drive pinion with a plastic hammer.





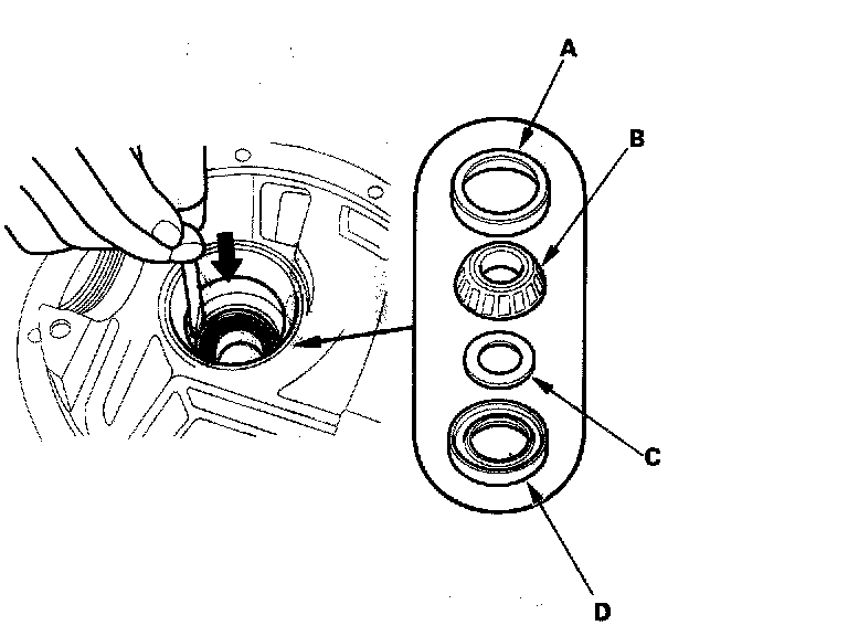
11. Remove the bearing outer race (A), tapered roller bearing (B), spacer (C), and oil seal (D) from the differential carrier.





12. Remove the bearing outer race from the differential carrier.





13. Remove the tapered roller bearing (A) and thrust washer (B) from the drive pinion (C) using a commercially available bearing separator and a press as shown.





14. Remove the tapered roller bearings from the Torsen LSD assembly using a commercially available bearing puller as shown.





15. Remove the ten mounting bolts in a crisscross pattern in several steps, then remove the ring gear.





16. Remove the breather plate (A), filler plug (B), drain plug (C), and sealing washers.





17. Remove the oil seals.