Operation CHARM: Car repair manuals for everyone.
Manuals through 2025 now available!

Our trusted friends have launched a new website named LEMON, which has newer manuals. It also contains all the CHARM manuals.

LEMON is the spiritual successor to CHARM, I recommend you try it!

Link: lemon-manuals.la or lemon-manuals.org.ua

(Some people have issue connecting. LEMON is investigating. For now, use Firefox or change your DNS server)

Or, hide this message: temporarily or permanently

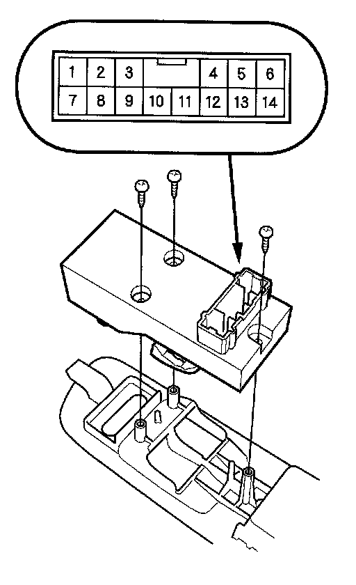
Master Switch Test

Master Switch Test

1. Remove the driver's door panel.




2. Disconnect the 14P connector from the power window master switch.




3. Check for continuity between the terminals in each switch position according to the table.

Driver's Switch

NOTE: The driver's switch is combined with the control unit so you cannot isolate the switch to test it. Instead, run the master switch input test procedures.

4. If the continuity is not as specified, replace the switch.