Operation CHARM: Car repair manuals for everyone.
Manuals through 2025 now available!

Our trusted friends have launched a new website named LEMON, which has newer manuals. It also contains all the CHARM manuals.

LEMON is the spiritual successor to CHARM, I recommend you try it!

Link: lemon-manuals.la or lemon-manuals.org.ua

(Some people have issue connecting. LEMON is investigating. For now, use Firefox or change your DNS server)

Or, hide this message: temporarily or permanently

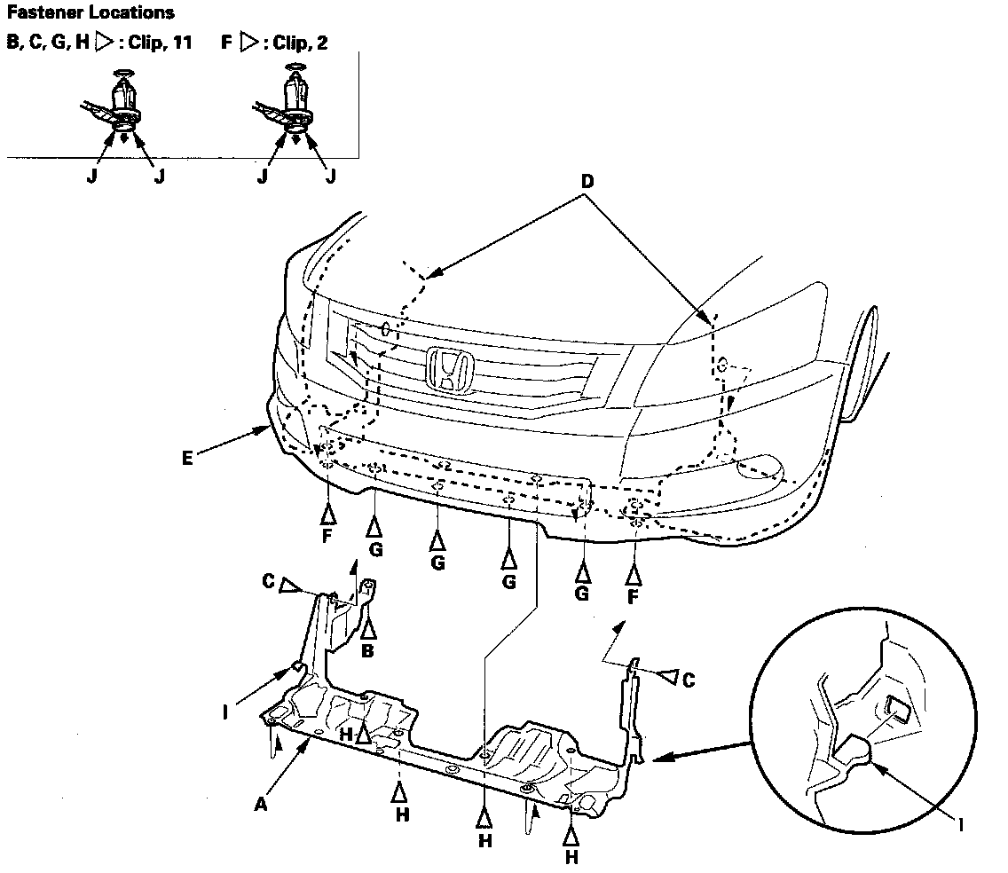
Front Splash Shield Replacement

Front Splash Shield Replacement

NOTE:
- Put on gloves to protect your hands.
- Take care not to scratch the body.
- 4-door is shown; 2-door is similar.

1. Remove the front splash shield (A).
1. Remove the clip (B) that secure the front splash shield to the body.
2. Remove the clips (C) that secure the front inner fender (D) and the front splash shield to the body.
3. From under the front bumper (E), remove the clips (F) that secure the front bumper, the front inner fender, and the front splash shield to the body.
4. From under the front bumper, remove the clips (G) that secure the front bumper and the front splash shield to the body.
5. From under the body, remove the clips (H) that secure the front splash shield to the front subframe.
6. Release the hooks (I) of the front splash shield, then pull the splash shield out.

NOTE: To remove the clips, pry the inner clip up at the edge near the line (J) on its head.






2. Install the splash shield in the reverse order of removal, and note these items:
- If the clips are damaged or stress-whitened, replace them with new ones.
- Push the clips into place securely.