Operation CHARM: Car repair manuals for everyone.
Manuals through 2025 now available!

Our trusted friends have launched a new website named LEMON, which has newer manuals. It also contains all the CHARM manuals.

LEMON is the spiritual successor to CHARM, I recommend you try it!

Link: lemon-manuals.la or lemon-manuals.org.ua

(Some people have issue connecting. LEMON is investigating. For now, use Firefox or change your DNS server)

Or, hide this message: temporarily or permanently

Connecting Rod: Service and Repair

Piston, Pin, and Connecting Rod Replacement

Disassembly

1. Remove the pistons from the engine block.
2. Apply new engine oil to the piston pin snap rings (A) and turn them in the ring grooves until the end gaps are lined up with the cutouts in the piston pin bores (B).





3. Remove the snap rings (A) from both sides of each piston. Start at the cutout in the piston pin bore. Remove the snap rings carefully so they do not go flying or get lost. Wear eye protection.





4. Separately heat each piston and connecting rod assembly to about 158°F (70°C), then remove the piston pin.





Inspection

NOTE: Inspect the piston, the piston pin, and the connecting rod when they are at room temperature.

1. Measure the diameter of the piston pin.





2. Zero the dial indicator to the piston pin diameter.





3. Check the difference between the piston pin diameter and the piston pin hole diameter on the piston.





4. Measure the piston pin-to-connecting rod clearance.





Reassembly

1. Install a piston pin snap ring (A) only on one side.





2. Coat the piston pin bore in the piston, the bore in the connecting rod, and the piston pin with new engine oil.
3. Heat the piston to about 158°F (70°C).





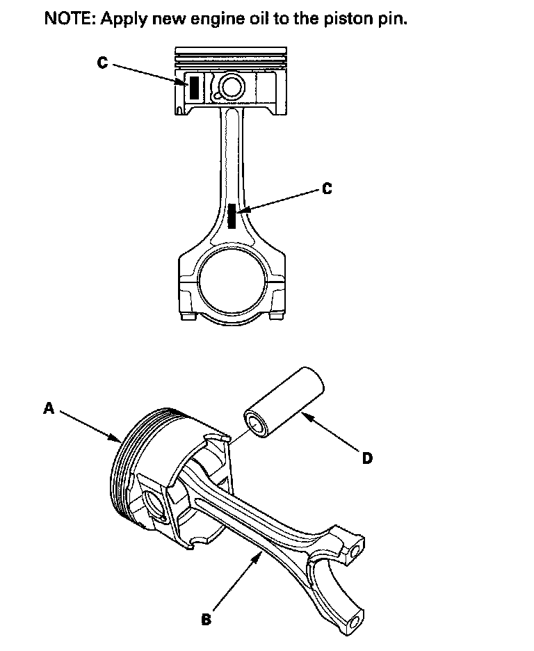
4. Assemble the piston (A) and the connecting rod (B) with the embossed marks (C) on the same side. Install the piston pin (D).





5. Install the remaining snap ring.
6. Reassemble the other pistons the same way,