General Specifications
Surface VariationCylinder Bore
Cylinder-to-Piston Clearance
Crankshaft
Journal Taper
Standard (New) 0.005 mm (0.0002 in.) max.
Service Limit 0.010 mm (0.0004 in.)
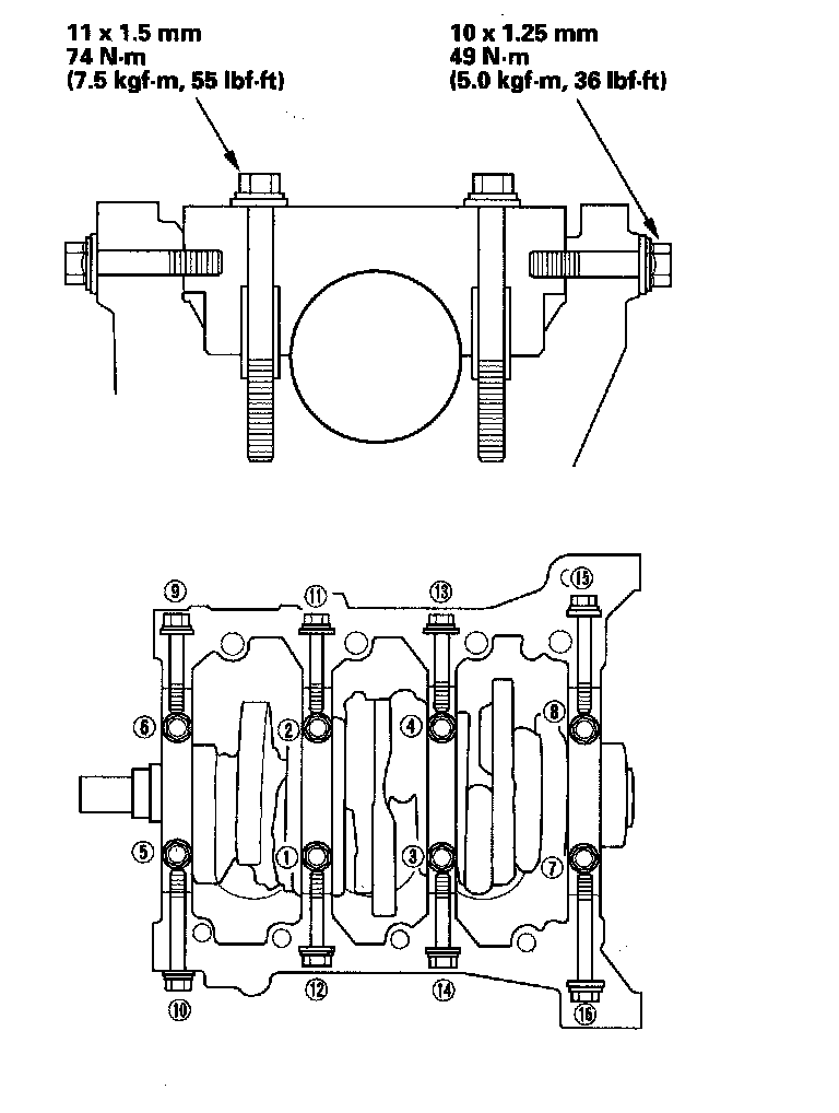
Main Bearing
Tighten the bearing cap bolts, and then the bearing cap side bolts to the specified torque in the sequence as shown. Repeat the torque sequence again to ensure the bolts are properly torqued.
Connecting Rod
Each connecting rod has a tolerance range from 0 to 0.024 mm (0.0009 in.), in 0.006 mm (0.0002 in.) increments, depending on the size of its big end bore. It's then stamped with a number or bar (1, 2, 3, or 4/I, II, III, or IIII) indicating the range
Connecting Rod Bearing
Torque 20 N-m (2.0 kgf-m, 15 lbf-ft).
Piston
Piston Rings
Top and 2nd ring grooves 1.2 mm (0.05 in.) wide
Oil ring groove 2.8 mm (0.11 in.) wide.
Piston Ring End-Gap
Top Ring:
Standard (New) 0.20 - 0.35 mm (0.008 - 0.014 in.)
Service Limit 0.60 mm (0.024 in.)
Second Ring:
Standard (New) 0.40 - 0.55 mm (0.016 - 0.022 in.)
Service Limit 0.70 mm (0.028 in.)
Oil Ring:
Standard (New) 0.20 - 0.70 mm (0.008 - 0.028 in.)
Service Limit 0.80 mm (0.031 in.)
Crankshaft Pulley
Torque 65 N-m (6.5 kgf-m, 48 lbf-ft)
Tighten the bolt an additional 60°