Operation CHARM: Car repair manuals for everyone.
Manuals through 2025 now available!

Our trusted friends have launched a new website named LEMON, which has newer manuals. It also contains all the CHARM manuals.

LEMON is the spiritual successor to CHARM, I recommend you try it!

Link: lemon-manuals.la or lemon-manuals.org.ua

(Some people have issue connecting. LEMON is investigating. For now, use Firefox or change your DNS server)

Or, hide this message: temporarily or permanently

Air Register: Service and Repair

Dashboard Center Vent Removal/ Installation

Special Tools Required
KTC trim tool set SOJATP2014 *
* Available through the American Honda Tool and Equipment Program

NOTE:
- Put on gloves to protect your hands.
- Use the appropriate tool from the KTC trim tool set to avoid damage when prying components.
- Take care not to scratch the dashboard and related parts.

1. Remove the center upper dashboard panel.
2. From the center upper dashboard panel opening, pull the edges of the dashboard center vent (A) slightly toward you to release the clips.

NOTE: If the vent is pulled upward, the audio panel (B) will be damaged.






3. Detach the lower clips, and release the hooks (A) by pulling the dashboard center vent (B) back.






4. Disconnect the hazard warning switch connector (C), and remove the center vent.
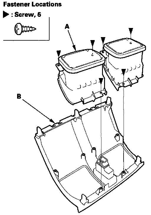
5. If necessary, remove the screws, then remove the center vent (A) from the vent panel (B).






6. Install the center vent in the reverse order of removal, and note these items:
- Check if the clips are damaged or stress-whitened, and if necessary, replace them with new ones.
- Push the clips into place securely.
- Make sure the connector is plugged in properly.