Operation CHARM: Car repair manuals for everyone.
Manuals through 2025 now available!

Our trusted friends have launched a new website named LEMON, which has newer manuals. It also contains all the CHARM manuals.

LEMON is the spiritual successor to CHARM, I recommend you try it!

Link: lemon-manuals.la or lemon-manuals.org.ua

(Some people have issue connecting. LEMON is investigating. For now, use Firefox or change your DNS server)

Or, hide this message: temporarily or permanently

Quarter Window Glass: Service and Repair

Quarter Glass Replacement

NOTE:
- Put on gloves to protect your hands.
- Wear eye protection when removing the glass with piano wire.
- Use seat covers to avoid damaging any surfaces.
- The quarter glass molding will need replacement because it will be damage during glass removal.

1. Remove the quarter pillar glass trim.
2. Remove the front seal (A) from the front edge of the quarter glass (B). If necessary, cut the seal with a utility knife.






3. If the old quarter glass (A) is to be reinstalled, make alignment marks (B) across the glass and body with a grease pencil over the quarter glass molding (C).






4. Apply protective tape along the inside and outside edges of the body. From pillar side the vehicle, use a knife (A) to cut the front clips (B) of the quarter glass molding (C).






5. Using an awl, make a hole through the adhesive from inside the vehicle at the front corner portion of the quarter glass. Push a piece of piano wire through the hole, and wrap each end around a piece of wood.
6. With a helper on the outside, pull the piano wire (A) back and forth in a sawing motion. Hold the piano wire as close to the quarter glass (B) as possible to prevent damage to the body, and carefully cut through the adhesive (C) in the straight areas and front corner, but not the rear corner.









7. From inside the vehicle, use a knife (A) to cut the rear clip (B) of the quarter glass molding, then cut through the adhesive (C) of the quarter glass rear corner.






8. Carefully remove the quarter glass and quarter glass molding. Replace the molding with a new one.
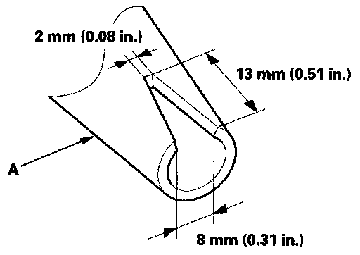
9. With a putty knife, scrape the old adhesive smooth to a thickness of about 2 mm (0.08 in.) on the bonding surface around the entire quarter glass opening flange:
- Do not scrape down to the painted surface of the body; damaged paint will interfere with proper bonding.
- Remove the molding from the quarter glass.

10. Clean the body bonding surface with a sponge dampened in isopropyl alcohol. After cleaning, keep oil, grease, and water from getting on the surface.
11. If the old quarter glass is to be reinstalled, use a putty knife to scrape off all of the old adhesive and clips from the quarter glass. Clean the inside face and the edge of the quarter glass with isopropyl alcohol where new adhesive is to be applied. Make sure the bonding surface is kept free of water, oil, and grease.
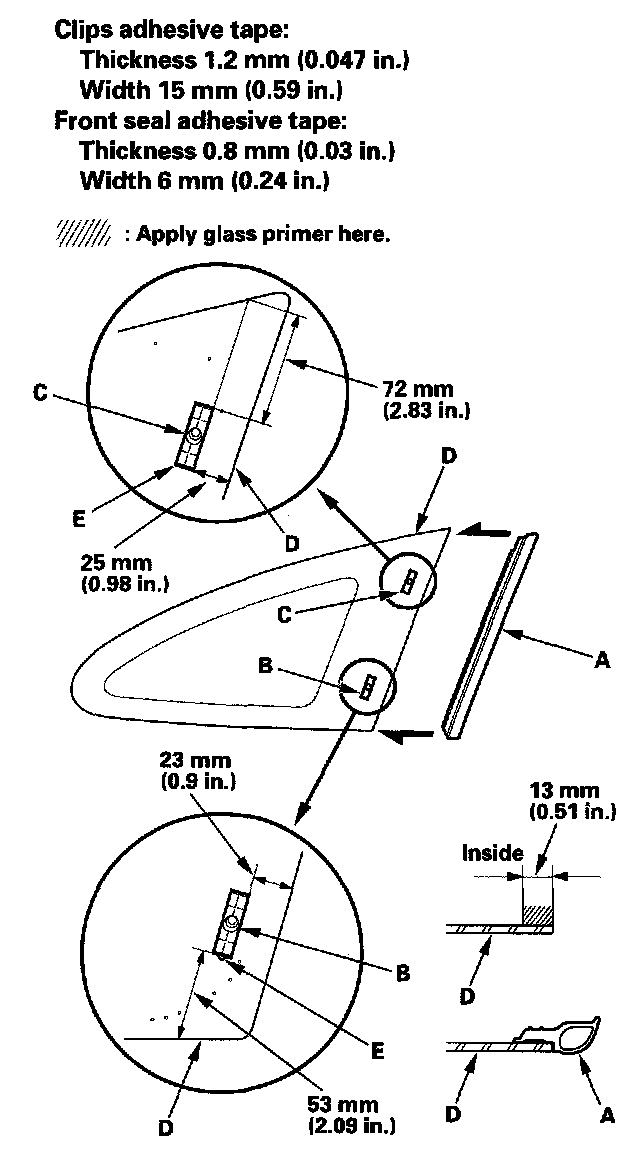
12. Attach the front seal (A), lower clip (B), and upper clip (C) with adhesive tapes to the inside face of the quarter glass (D) as shown. Before installing the front seal, apply primer to the inside face of the quarter glass.
- Be careful not to touch the glass where adhesive will be applied.
- Be sure installing the clips with its convex portions (E) downward.






13. Set the quarter glass (A) in the opening, and make alignment marks (B) across the quarter glass and body with a grease pencil at the three points shown. Make sure both clips (C) contact with the edge of the body holes. Be careful not to touch the glass where adhesive will be applied.






14. Remove the quarter glass.
15. Install the quarter glass molding (A).
1. Hold the molding up on the glass, and fit the hooks (B) of the molding to the edge of the glass rear corner first.
2. From the rear corner to the front, hook the lower clip (C) and upper clips (D) of the molding to along the edges of the glass.
3. Push the molding into place securely.

NOTE:
- Take care not to bend or damage the molding.
- Be careful not to touch the glass where adhesive will be applied.
- Be sure the front seal contacts the upper and lower ends of the molding.






16. With a sponge, apply a light coat of glass primer along the edge of the quarter glass (A) and front seal (B) as shown, then lightly wipe it off with gauze or cheesecloth:
- With the printed dots (C) on the quarter glass as a guide, apply the glass primer to the rear corner, upper corner, and lower corner portions of the quarter glass.
- Do not apply body primer to the quarter glass, and do not get body and glass primer sponges mixed up.
- Never touch the primed surfaces with your hands. If you do, the adhesive may not bond to the quarter glass properly, causing a leak after the quarter glass is installed.
- Keep water, dust, and abrasive materials away from the primed surface.






17. With a sponge, apply a light coat of body primer to the original adhesive remaining around the quarter glass opening flange. Let the body primer dry for at least 10 minutes:
- Be careful not to mix up the body and glass primer sponges.
- Never touch the primed surfaces with your hands.






18. Cut a "V" in the end of the adhesive cartridge nozzle (A) as shown.






19. Put the cartridge in a caulking gun, and run a bead of adhesive (A) around the edge of the quarter glass (B) and along the front seal (C) as shown. With the printed dots on the quarter glass as a guide, apply the adhesive to the rear corner, upper corner, and lower corner portions of the quarter glass. Apply the adhesive within 30 minutes after applying the glass primer. Make a slightly thicker bead at each corner.






20. Use suction cups (A) to hold the quarter glass (B) over the opening, align it with the clips (C) and alignment marks (D) you made in step 13, and set it down on the adhesive. Lightly push on the quarter glass until its edges are fully seated on the adhesive all the way around.

NOTE: Do not open or close any of the doors for about an hour until the adhesive is dry.






21. Scrape or wipe the excess adhesive off with a putty knife or towel. To remove adhesive from a painted surface or the quarter glass, use a soft shop towel dampened with isopropyl alcohol.
22. After the adhesive has dried, spray water over the quarter glass and check for leaks. Mark the leaking areas, let the quarter glass dry, then seal with sealant. Let the vehicle stand for at least 4 hours after quarter glass installation. If the vehicle has to be used within the first 4 hours, it must be driven slowly.
23. Reinstall all remaining removed parts.

NOTE: Advise the customer not to do the following things for 2 to 3 days:
- Slam the doors with all the windows rolled up.
- Twist the body excessively (such as when going in and out of driveways at an angle or driving over rough, uneven roads).