Operation CHARM: Car repair manuals for everyone.
Manuals through 2025 now available!

Our trusted friends have launched a new website named LEMON, which has newer manuals. It also contains all the CHARM manuals.

LEMON is the spiritual successor to CHARM, I recommend you try it!

Link: lemon-manuals.la or lemon-manuals.org.ua

(Some people have issue connecting. LEMON is investigating. For now, use Firefox or change your DNS server)

Or, hide this message: temporarily or permanently

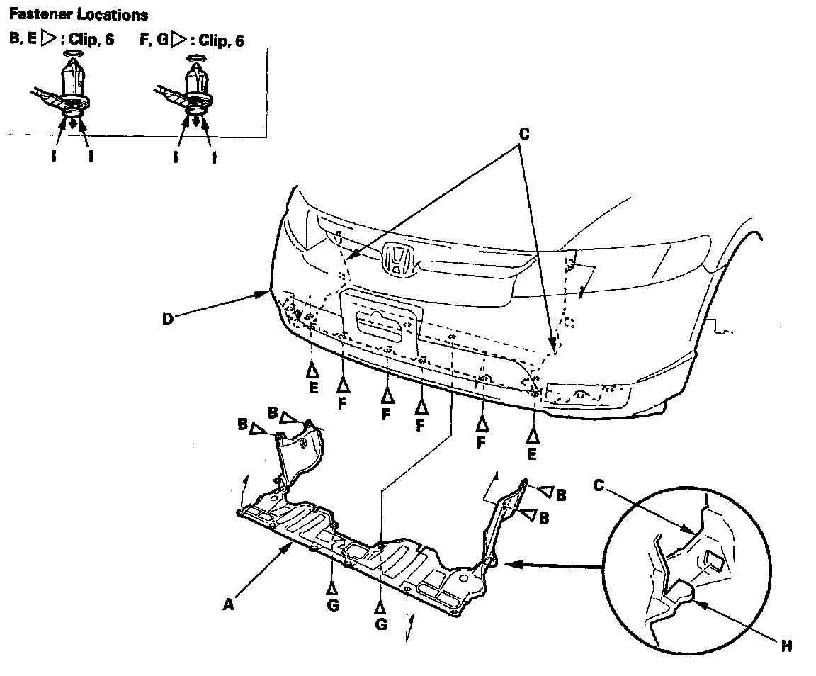
Splash Shield Replacement

Splash Shield Replacement

NOTE: Take care not to scratch the body.

1. Remove the splash shield (A).
1. Remove the clips (B) that secure the front inner fender (C) and front splash shield to the body.
2. From under the front bumper (D), remove the clips (E, F).
3. From under the body, remove the clips (G).
4. Release the hooks (H) of the front splash shield, then pull the splash shield out.

NOTE: To remove the clips B, E, F and G, pry the inner pin up at the edge near the line (I) on its head.






2. Install the splash shield in the reverse order of removal, and note these items:
- Check if the clips are damaged or stress-whitened, and if necessary, replace them with new ones.
- Push the clips and the hooks into place securely.