Operation CHARM: Car repair manuals for everyone.
Manuals through 2025 now available!

Our trusted friends have launched a new website named LEMON, which has newer manuals. It also contains all the CHARM manuals.

LEMON is the spiritual successor to CHARM, I recommend you try it!

Link: lemon-manuals.la or lemon-manuals.org.ua

(Some people have issue connecting. LEMON is investigating. For now, use Firefox or change your DNS server)

Or, hide this message: temporarily or permanently

Tire Pressure Module: Service and Repair

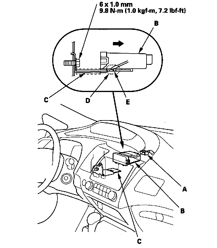
TPMS Control Unit Replacement

NOTE: Make sure the TPMS control unit mounting bracket is not bent or twisted as this may affect its communication with the tire pressure sensors.

1. Turn the ignition switch to LOCK (0).
2. Remove the driver's dashboard undercover.
3. Disconnect the TPMS control unit connector (A).





4. Remove the TPMS control unit (B) from the bracket (C).

NOTE: To disconnect the TPMS control unit from its bracket, insert a small flat-tipped screwdriver between the TPMS control unit and the bracket shown in (D) to release the hook, then slide out the TPMS unit.

5. Replace the bracket if necessary.
6. Install the TPMS control unit in the reverse order of removal.

NOTE: Make sure the TPMS control unit is properly installed. You will hear a click when the TPMS control unit is securely mounted on the bracket.

7. Connect the HDS, and memorize the tire pressure sensor IDs using the TPMS sensor initializer tool.