Operation CHARM: Car repair manuals for everyone.
Manuals through 2025 now available!

Our trusted friends have launched a new website named LEMON, which has newer manuals. It also contains all the CHARM manuals.

LEMON is the spiritual successor to CHARM, I recommend you try it!

Link: lemon-manuals.la or lemon-manuals.org.ua

(Some people have issue connecting. LEMON is investigating. For now, use Firefox or change your DNS server)

Or, hide this message: temporarily or permanently

Transmission Position Sensor/Switch: Service and Repair

Transmission Range Switch Replacement

1. Shift to N.
2. Remove the air cleaner assembly and the intake air duct.
3. Disconnect the transmission range switch connector, and remove the control shaft cover (A).





4. Remove the transmission range switch (B).
5. Move the control shaft from the P position to the N position by turning the selector control shaft using a 6.0 mm wrench.

NOTE: Do not use the selector control shaft to adjust the shift position. If the control shaft tips are squeezed together it will cause a faulty signal or position due to play between the selector control shaft and the transmission range switch.





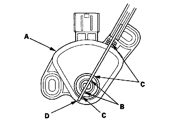
6. To set up a new transmission range switch (A), align the cutouts (B) on the rotary-frame with the neutral positioning cutouts (C) on the transmission range switch. Then put a 2.0 mm (0.08 in.) feeler gauge blade (D) in the cutouts to hold the transmission range switch in the A/T position.

NOTE: Be sure to use a 2.0 mm (0.08 in.) blade or equivalent to hold the transmission range switch in the N position.





7. Install the transmission range switch (A) gently on the selector control shaft (B) while holding it in the N position with the 2.0 mm (0.08 in.) blade (C).





8. Tighten the bolts (A) on the transmission range switch while you continue to hold the N position. Do not move the transmission range switch when tightening the bolts. Remove the feeler gauge (B).





9. Check the connector for rust, dirt, or oil, clean or repair if necessary, then connect the connector securely.
10. Install the control shaft cover on the transmission range switch.





11. Turn the ignition switch to ON (II). Move the shift lever through all positions, and check the transmission range switch synchronization with the A/T gear position indicator.
12. Check that the engine starts in P and N, and does not start in any other shift lever position.
13. Check that the back-up lights come on when the shift lever is in R.
14. Raise the vehicle on a lift, or apply the parking brake, block the rear wheels, and raise the front of the vehicle. Make sure it is supported securely.
15. Allow the front wheels to rotate freely, then start the engine, and check the shift lever operation.
16. Install the air cleaner assembly and the intake air duct.