Operation CHARM: Car repair manuals for everyone.
Manuals through 2025 now available!

Our trusted friends have launched a new website named LEMON, which has newer manuals. It also contains all the CHARM manuals.

LEMON is the spiritual successor to CHARM, I recommend you try it!

Link: lemon-manuals.la or lemon-manuals.org.ua

(Some people have issue connecting. LEMON is investigating. For now, use Firefox or change your DNS server)

Or, hide this message: temporarily or permanently

Fluid - M/T: Service and Repair

Transmission Fluid Inspection and Replacement

1. Raise the vehicle on a lift.
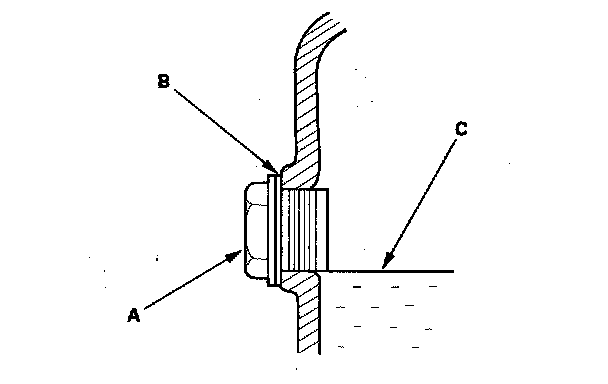
2. Remove the filler plug (A) and sealing washer (B), check the condition of the fluid, and make sure it is at the proper level (C).





3. If the fluid is dirty, remove the drain plug (A), and sealing washer (B) drain it.





4. Install the drain plug with a new sealing washer, and refill the transmission fluid to the proper level.

Fluid Capacity
1.5 L (1.6 US qt) at fluid change
1.7 L (1.8 US qt) at overhaul

Always use Honda Manual Transmission Fluid (MTF). Using engine oil can cause stiffer shifting because it does not contain the proper additives.

5. Install the filler plug (C) with a new sealing washer (D).
6. If the maintenance minder required to replace the fluid, reset the maintenance minder. If it did not reset, select BODY ELECTRICAL, GAUGES, ADJUSTMENT, MAINTENANCE MINDER, RESET, MAINTENANCE SUB ITEM 3 with the HDS.