Operation CHARM: Car repair manuals for everyone.
Manuals through 2025 now available!

Our trusted friends have launched a new website named LEMON, which has newer manuals. It also contains all the CHARM manuals.

LEMON is the spiritual successor to CHARM, I recommend you try it!

Link: lemon-manuals.la or lemon-manuals.org.ua

(Some people have issue connecting. LEMON is investigating. For now, use Firefox or change your DNS server)

Or, hide this message: temporarily or permanently

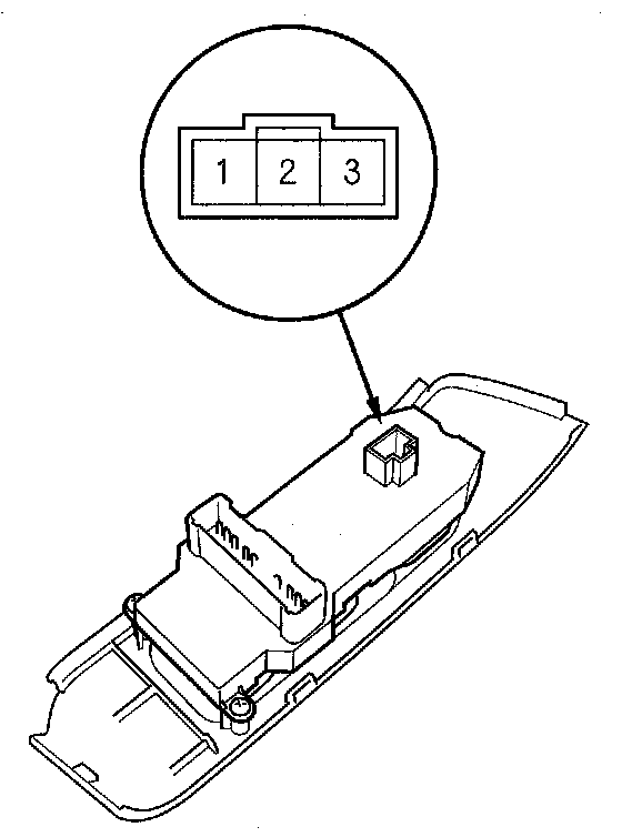
Door Lock Switch Test

Door Lock Switch Test

1. Remove the power window master switch.
2. Disconnect the 3P connector from the power window master switch.






3. Check for continuity between the terminals in each switch position according to the table.






4. If the continuity is not as specified, replace the power window master switch.