Operation CHARM: Car repair manuals for everyone.
Manuals through 2025 now available!

Our trusted friends have launched a new website named LEMON, which has newer manuals. It also contains all the CHARM manuals.

LEMON is the spiritual successor to CHARM, I recommend you try it!

Link: lemon-manuals.la or lemon-manuals.org.ua

(Some people have issue connecting. LEMON is investigating. For now, use Firefox or change your DNS server)

Or, hide this message: temporarily or permanently

Seat Position Sensor: Service and Repair

Driver's Seat Position Sensor Replacement

Removal

NOTE:
- Removal of the driver's seat position sensor must be performed according to the precautions/procedures described at the beginning of Restraint Systems.
- Do not turn the ignition switch ON (II), and do not connect the battery cable while removing the driver's seat position sensor.

1. Disconnect the negative cable from the battery, then wait for 3 minutes before starting work.
2. Disconnect the driver's airbag 4P connector.
3. Remove the driver's seat assembly.
4. Disconnect the seat position sensor harness 2P connector (A) from the driver's seat position sensor.






5. Using a TORX T30 bit, remove the TORX bolt (B), then remove the driver's seat position sensor.

Installation

NOTE:
- Be sure to install the harness so it does not pinched or interfere with other parts.
- Do not turn the ignition switch ON (II), and do not connect the battery cable while installing the driver's seat position sensor.
- After installing the driver's seat position sensor, make sure it is clean. Keep it away from dust.

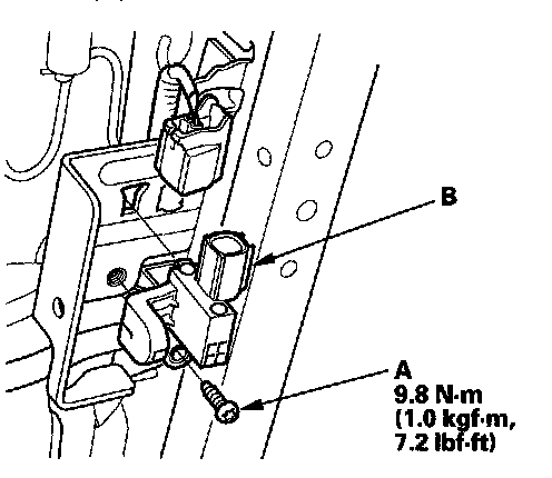
1. Install the new driver's seat position sensor with a TORX bolt (A), then connect the seat position sensor harness 2P connector to the driver's seat position sensor (B).






2. Install the driver's seat assembly.
3. Reconnect the negative cable to the battery.
4. Check the operation of the driver's seat position sensor with the HDS.