Operation CHARM: Car repair manuals for everyone.
Manuals through 2025 now available!

Our trusted friends have launched a new website named LEMON, which has newer manuals. It also contains all the CHARM manuals.

LEMON is the spiritual successor to CHARM, I recommend you try it!

Link: lemon-manuals.la or lemon-manuals.org.ua

(Some people have issue connecting. LEMON is investigating. For now, use Firefox or change your DNS server)

Or, hide this message: temporarily or permanently

Overhaul

Starter Overhaul

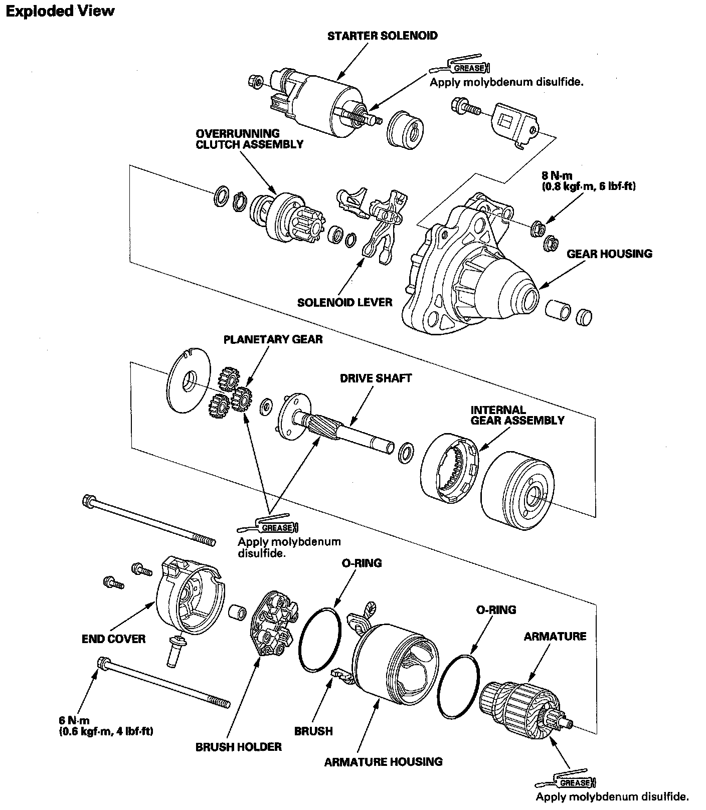
Starter Overhaul Exploded View:






Armature Inspection and Test

1. Remove the starter.
2. Disassemble the starter as shown in the Exploded View.
3. Inspect the armature for wear or damage from contact with the permanent magnet. If there is wear or damage, replace the armature.






4. Check the commutator (A) surface. If the surface is dirty or burnt, resurface it with an emery cloth or a lathe to the specifications in step 5, or recondition with #500 or # 600 sandpaper (B).






5. Check the commutator diameter. If the diameter is below the service limit, replace the armature.






6. Measure the commutator (A) runout.

- If the commutator runout is within the service limit, check the commutator for carbon dust or brass chips between the segments.
- If the commutator runout is not within the service limit, replace the armature.






7. Check the mica depth (A). If the mica is too high (B), undercut the mica with a hacksaw blade to the proper depth. Cut away all the mica (C) between the commutator segments. The undercut should not be too shallow, too narrow, or V-shaped (D).






8. Check for continuity between the segments of the commutator. If there is an open circuit between any of the segments, replace the armature.






9. Place the armature (A) on an armature tester (B). Hold a hacksaw blade (C) on the armature core. If the blade is attracted to the core or vibrates while the core is turned, the armature is shorted. Replace the armature.






10. Use an ohmmeter to check for continuity between the commutator (A) and the armature coil core (B), and between the commutator and the armature shaft (C). If there is continuity, replace the armature.






Starter Brush Inspection

11. Measure the brush length. If it is not within the service limit, replace the brush holder assembly or the armature housing.






Starter Field Winding Test

12. Check for continuity between the brushes (A) and the motor wire (B). If there is no continuity, replace the armature housing (C).






13. Check for continuity between each brush and the armature housing. If there is continuity, replace the armature housing.

Starter Brush Holder Test

14. Check for continuity between the (+) brush holder (A) and (-) brush holder (B). If there is continuity, replace the brush holder assembly.






Brush Spring Inspection

15. Insert the brush (A) into the brush holder, and bring the brush into contact with the commutator, then attach a spring scale (8) to the spring (C). Measure the spring tension at the moment the spring lifts off the brush. If it is not within the standard, replace the brush holder assembly.






Overrunning Clutch Inspection

16. Slide the overrunning clutch (A) along the shaft. Replace it, if it does not slide smoothly.






17. Hold the drive gear (B), and turn the overrunning clutch in the direction shown to make sure it turns freely. Also make sure the overrunning clutch locks in the opposite direction. If it does not lock, replace the overrunning clutch assembly.
18. If the starter drive gear is worn or damaged, replace the overrunning clutch assembly; the gear is not available separately.
Check the condition of the flywheel or torque converter ring gear. Replace it if the starter drive gear teeth are damaged.

Planetary Gear Inspection

19. Check the planetary gears (A) and internal ring gear (B). Replace them if they are worn or damaged.






Starter Reassembly

NOTE: Refer to the Exploded View as needed during this procedure.

20. Install the starter solenoid and the planetary gear assembly (A) to the gear housing (B) by aligning the reference marks (C).






21. When you replace the brush holder or the armature housing, you need to seat the new brushes. Slip a strip of #500 or #600 sandpaper, with the grit side up, between the commutator and each brush, and smoothly turn the armature. The contact surface of the brushes will be sanded to the same contour as the commutator.

22. Pry back the brush spring with a screwdriver, then position the brush on the brush holder about halfway out of its holder. Release the spring to hold it in place.






23. Pry back the brush spring with a screwdriver, then position the brush on the armature housing (A) about halfway out of brush holder (B). Release the spring to hold it in place.






24. Install the armature housing (A) and armature (B) by aligning the slotted point (C) to the projection (D).






25. Push each brush down until it seats against the commutator, then release the spring against the end of the brush.






26. Install the end cover (A) by aligning the reference marks (B).