Operation CHARM: Car repair manuals for everyone.
Manuals through 2025 now available!

Our trusted friends have launched a new website named LEMON, which has newer manuals. It also contains all the CHARM manuals.

LEMON is the spiritual successor to CHARM, I recommend you try it!

Link: lemon-manuals.la or lemon-manuals.org.ua

(Some people have issue connecting. LEMON is investigating. For now, use Firefox or change your DNS server)

Or, hide this message: temporarily or permanently

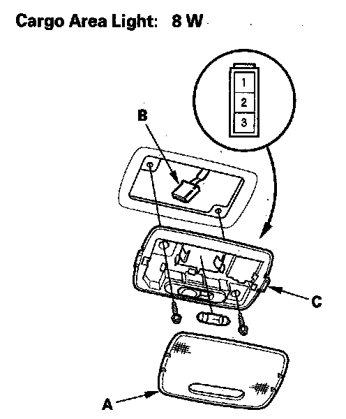
Cargo Lamp: Service and Repair

Cargo Area Light Test/Replacement

1. Turn the light switch OFF.
2. Carefully pry off the lens (A) with a small screwdriver.






3. Remove the two mounting screws.
4. Disconnect the 3P connector (B) from the housing (C).
5. Check for continuity between the terminals.
- There should be continuity between the No. 1 and No. 2 terminals with the switch in the MIDDLE position.
- There should be continuity between the No. 2 and No. 3 (Body ground) terminals with the switch in the ON position.

6. Install in the reverse order of removal.