Operation CHARM: Car repair manuals for everyone.
Manuals through 2025 now available!

Our trusted friends have launched a new website named LEMON, which has newer manuals. It also contains all the CHARM manuals.

LEMON is the spiritual successor to CHARM, I recommend you try it!

Link: lemon-manuals.la or lemon-manuals.org.ua

(Some people have issue connecting. LEMON is investigating. For now, use Firefox or change your DNS server)

Or, hide this message: temporarily or permanently

Quarter Window Glass: Service and Repair

Quarter Glass Replacement

NOTE:
- Put on gloves to protect your hands.
- Wear eye protection when removing the glass with piano wire.
- Use seat covers to avoid damaging any surfaces.
- Do not damage the antenna grid lines or terminals.

1. Remove these items:
- C-pillar trim
- D-pillar trim
- Rear side trim panel

2. Remove the front seal (A) from the front edge of the quarter glass (B). If necessary, cut the rubber dam with a utility knife.






3. Right quarter glass: Disconnect the glass antenna connectors (A).






4. From inside the vehicle, use a utility knife (A) to cut through the quarter glass adhesive (B) in upper side, rear side, and lower side:
- If the quarter glass (C) is to be reinstalled, take care not to damage the molding (D).
- If the molding is damaged, replace the quarter glass, molding, and clips (E) as an assembly.
- If any of the clips are broken, the quarter glass can be reinstalled using butyl tape.
- Apply protective tape along the edge of the entire quarter glass opening flange.






5. Apply protective tape to along the inside and outside edges of the body. Push a piece of piano wire through the lower cut area in the adhesive, and wrap each end around a piece of wood.
6. With a helper on the outside, pull the piano wire (A) back and forth in a sawing motion. Hold the piano wire as close to the quarter glass (B) as possible to prevent damage to the body, and carefully cut through the adhesive (C) in the front side of the quarter glass.
- Take care not to drop the quarter glass.
- If the quarter glass is to be reinstalled, take care not to damage the molding (D).
- If the molding is damaged, replace the quarter glass, molding, and clips (E) as an assembly.
- If any of the clips are broken, the quarter glass can be reinstalled using butyl tape (refer to step 12).






7. Carefully remove the quarter glass.
8. With a putty knife, scrape the old adhesive smooth to a thickness of about 2 mm (0.08 in.) on the bonding surface around the entire quarter glass opening flange:
- Do not scrape down to the painted surface of the body; damaged paint will interfere with proper bonding.
- Remove the clips and fastener from the body.

9. Clean the body bonding surface with a sponge dampened in isopropyl alcohol. After cleaning, keep oil, grease and water from getting on the surface.
10. If the old quarter glass is to be reinstalled, use a putty knife to scrape off all of the old adhesive, fastener and the rubber dam from the quarter glass. Clean the inside face and the edge of the quarter glass with isopropyl alcohol where new adhesive is to be applied. Make sure the bonding surface is kept free of water, oil and grease.
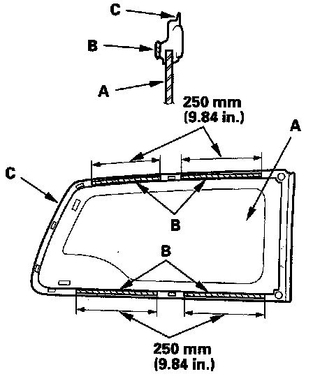
11. Attach the fastener (A) and clip (B) with adhesive tape to the inside face of the quarter glass (C):
- Be sure the fastener and clip line up with the alignment marks (D).
- Be careful not to touch the quarter glass where adhesive will be applied.






12. If the old quarter glass (A) is to be reinstalled (and either clip is broken off the molding), apply a light coat of primer, then apply butyl tape (B) to the molding (C) as shown:
- Be careful not to touch the quarter glass where adhesive will be applied.
- Do not peel the separator off the butyl tape.






13. Attach the fastener with adhesive tape to the body as shown. If the old quarter glass is to be reinstalled (and either clip is broken off the molding), seal the body holes with pieces of urethane tape (A).






14. If the old quarter glass (A) is to be reinstalled (and either clip is broken off the molding), install the rear fastener (B) and rear clip (C) in the opening flange, set the quarter glass upright in the opening, and make alignment marks (D) across the quarter glass and body with a grease pencil at the four points shown. Be careful not to touch the quarter glass where adhesive will be applied.






15. Remove the quarter glass. Take care not to break the rear clip during removal.
16. With a sponge, apply a light coat of glass primer to the inside face of the quarter glass (A) along the molding (B), and to the molding as shown; then lightly wipe it off with gauze or cheesecloth:
- With the printed dots (C) on the quarter glass as a guide, apply the glass primer to the upper and lower corner portions of the quarter glass.
- Do not apply body primer to the quarter glass, and do not get the body and glass primer sponges mixed up.
- Never touch the primed surfaces with your hands. If you do, the adhesive may not bond to the quarter glass properly, causing a leak after the quarter glass is installed.
- Keep water, dust, and abrasive materials away from the primed surface.






17. With a sponge, carefully apply a light coat of body primer to any exposed paint around the flange where new adhesive will be applied. Let the body primer dry for at least 10 minutes:
- Do not apply body primer to any remaining original adhesive on the flange.
- Be careful not to mix up the body and glass primer sponges.
- Never touch the primed surfaces with your hands.






18. Cut a "V" in the end of the adhesive cartridge nozzle (A) as shown.






19. Put the cartridge in a caulking gun, and run a bead of adhesive (A) on the quarter glass (B) around the edge of the molding (C) as shown:
- After applying the adhesive, peel the separator off the butyl tape.
- Apply the adhesive within 30 minutes after applying the glass primer. Make slightly thicker bead at each corner.






20. Use suction cups to hold the quarter glass over the opening, align it with the clips or the alignment marks made in step 14, and set it down on the adhesive. Lightly push on the quarter glass until its edges are fully seated on the adhesive all the way around.

NOTE: Do not open or close any of the doors for about an hour until the adhesive is dry.

21. Scrape or wipe the excess adhesive off with a putty knife or towel. To remove adhesive from a painted surface or the quarter glass, use a soft shop towel dampened with isopropyl alcohol.
22. After the adhesive has dried, spray water over the quarter glass and check for leaks. Mark the leaking area, let the quarter glass dry, then seal with sealant. Let the vehicle stand for at least 4 hours after quarter glass installation. If the vehicle has to be used within the first 4 hours, it must be driven slowly.
23. Reinstall all remaining removed parts.

NOTE: Advise the customer not to do the following things for 2 to 3 days:

- Slam the doors with all the windows rolled up.
- Twist the body excessively (such as when going in and out of driveways at an angle or driving over rough, uneven roads).