Operation CHARM: Car repair manuals for everyone.
Manuals through 2025 now available!

Our trusted friends have launched a new website named LEMON, which has newer manuals. It also contains all the CHARM manuals.

LEMON is the spiritual successor to CHARM, I recommend you try it!

Link: lemon-manuals.la or lemon-manuals.org.ua

(Some people have issue connecting. LEMON is investigating. For now, use Firefox or change your DNS server)

Or, hide this message: temporarily or permanently

Wiper Motor Test

Wiper Motor Test

Windshield


1. Remove the wiper arms.

NOTE: Carefully remove the wiper arms so that they do not touch the hood.

2. Remove the hood rear seal and cowl cover.
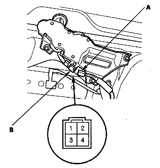
3. Disconnect the 5P connector (A) from the wiper motor (B).






4. Test the motor by connecting battery power and ground according to the table. If the motor does not run or fails to run smoothly, replace the motor.






5. Connect the battery positive terminal to the No. 1 and No. 3 terminals, and negative terminals to the No. 2 terminal of the 5P connector. Then connect an analog voltmeter between the No. 4 (+) terminal and the No. 2 (-) terminal. When the park switch contacts, the pointer should swing. If not, replace the motor.

Rear Window

1. Open the tailgate, and remove the tailgate trim panel.
2. Disconnect the 4P connector (A) from the motor (B).






3. Test the motor by connecting battery power to the No. 4 terminal and ground to the No. 2 terminal of the 4P connector. The motor should run. If the motor does not run or fails to run smoothly, replace the motor.
4. Connect battery positive terminal to the No. 1 and No. 4 terminals, and negative terminal to the No. 2 terminal of the 5P connector. Then connect an analog voltmeter between the No. 3 (+) terminal and the No. 2 (-) terminal. When the park switch contacts, the pointer should swing. If not, replace the motor.