Operation CHARM: Car repair manuals for everyone.
Manuals through 2025 now available!

Our trusted friends have launched a new website named LEMON, which has newer manuals. It also contains all the CHARM manuals.

LEMON is the spiritual successor to CHARM, I recommend you try it!

Link: lemon-manuals.la or lemon-manuals.org.ua

(Some people have issue connecting. LEMON is investigating. For now, use Firefox or change your DNS server)

Or, hide this message: temporarily or permanently

Grille: Service and Repair

Front Grille Replacement

'04-08 Models

NOTE: Take care not to scratch the front bumper.

1. Remove the front bumper.
2. Remove the clip securing the license plate base (A).






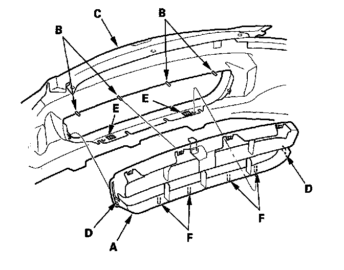
3. From the back of the front bumper (A), release the speed nuts securing the front bumper grille (B) by using pliers (C) as shown.









4. Pull the top edge of the grille (A) out to release the pins (B) of the front bumper (C), and then release the tabs (D) on both sides, and release the double-sided adhesive tape (E) and pins (F), then remove the grille from the bumper.






5. Remove the bolt, then remove the license plate base bracket (A) from the grille (B).






6. Install the grille in the reverse order of removal, and note these items:
- Before installing the grille, clean the grille bonding surface with isopropyl alcohol, and apply primer.
- Before installing the grille, scrape off the double-sided adhesive tape, then clean the front bumper surface with isopropyl alcohol, and attach new double-sided adhesive tape to the bumper.

Adhesive tape:
Thickness 0.8 mm (0.03 in.)
Width 10 mm (0.39 in.)


- After installing the grille to the bumper, press the double-sided adhesive tape portions securely.
- Replace the speed nuts with new ones.