Operation CHARM: Car repair manuals for everyone.
Manuals through 2025 now available!

Our trusted friends have launched a new website named LEMON, which has newer manuals. It also contains all the CHARM manuals.

LEMON is the spiritual successor to CHARM, I recommend you try it!

Link: lemon-manuals.la or lemon-manuals.org.ua

(Some people have issue connecting. LEMON is investigating. For now, use Firefox or change your DNS server)

Or, hide this message: temporarily or permanently

Front Seat Removal/Installation




Front Seat Removal/Installation

Special Tools Required
- KTC trim tool set SOJATP2014*

SRS components are located in this area. Review the SRS component locations, 2-door, SRS Component Location Index (2-Door) 4-door SRS Component Location Index (4-Door) and the precautions and procedures Technician Safety Information before doing repairs or service.

- Check the operation of the driver's seat position sensor after any of these actions: Drivers Seat Position Sensor Operation Check
- Driver's seat position sensor replacement

- Cover plate (front side of driver's seat slide rail) replacement

- Calibrate the ODS unit after any of the these actions: Programming and Relearning
- Front passenger's seat replacement (including any seat components)

- Replacement of the seat weight sensors

- After a vehicle collision

NOTE:

- Put on gloves to protect your hands.

- When prying with a flat-tip screwdriver, wrap it with protective tape to prevent damage.

- Take care not to scratch the body or tear the seat covers.

- Use the appropriate tool from the KTC trim tool set to avoid damage when removing components.

1. Tilt the steering wheel all the way up, and push it all the way in. Adjust the seat-back recline to a middle position.

2. 2-door passenger's seat: Carefully insert the tip of a small screwdriver (A) through the hole in the back of the front seat belt lower anchor cover (B) and into the hole in the front seat belt lower anchor (C).
Unlock the lower anchor by pushing in on the screwdriver. Remove the screwdriver, and then detach the front seat belt anchor plate (D) and the anchor cover from the lower anchor.






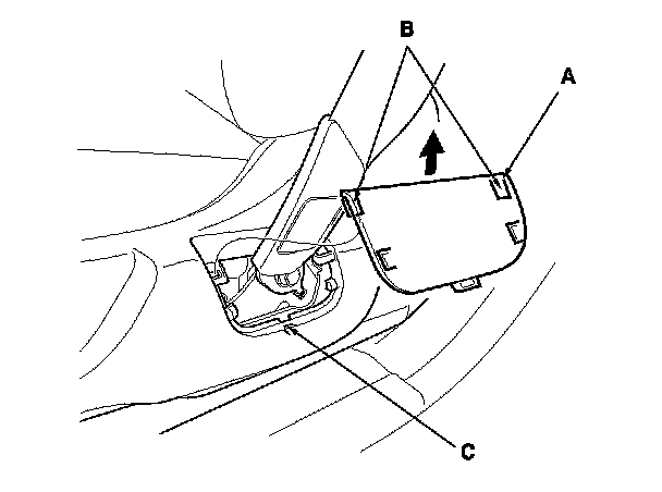
3. 4-door: Slide the front seat all the way forward. Carefully pry up on the bottom of the anchor cover (A) to release the hooks (B) and the tab (C), then remove the cover by pulling it upward.

Driver's seat





Passenger's seat





4. 4-door: Remove the lower anchor bolt (A).






5. Remove the seat track outer end covers (A) and the seat track inner end covers (B) from the back of both seat tracks.

2-door driver's seat (10-way power seat)





2-door driver's seat (manual height adjustable seat)





2-door passenger's seat (manual seat)





4-door driver's seat (10-way power seat)





4-door driver's seat (manual height adjustable seat)





4-door passenger's seat (manual seat)





6. Remove the rear bolts.






7. Slide the front seat all the way back, and remove the front bolts.

8. Do the battery terminal disconnection procedure, Procedures then wait at least 3 minutes before removing the seat.






9. Lift up the front seat, then detach the harness clips (A). Disconnect the floor wire harness connector (B), the side airbag connector (C), and the seat belt buckle switch connector (D). Driver's manual height adjustable seat: Disconnect the seat position sensor connector (E).

10. Remove the head restraint.

11. With the help of an assistant, carefully remove the front seat through the front door opening.

2-door driver's seat (10-way power seat)





4-door driver's seat (10-way power seat)





2-door driver's seat (manual height adjustable seat)





4-door driver's seat (manual height adjustable seat)





2-door passenger's seat (manual seat)





4-door passenger's seat (manual seat)





12. Install the seat in the reverse order of removal, and note these items:
- Tighten the seat mounting bolts to the specified torque in the sequence shown. Slide the seat all the way back and tighten (1) and (2), then slide it forward and tighten (3) and (4). The driver's seat is shown; the passenger's seat is symmetrical.

- The triangle marks (A) on the anchor plate (B) and the lower anchor (C) must face the same side. Insert the anchor plate into the lower anchor, and make sure that it is locked securely. Make sure each connector is plugged in properly.

- Tighten the bolts by hand first, then tighten them to specified torque with a torque wrench.

- Do the battery terminal reconnection procedure. Procedures

- Check for any DTCs that may have been set during repairs, and clear them.

Seat mounting bolts tightening sequence





2-door passenger's front seat belt lower anchor installation