Operation CHARM: Car repair manuals for everyone.
Manuals through 2025 now available!

Our trusted friends have launched a new website named LEMON, which has newer manuals. It also contains all the CHARM manuals.

LEMON is the spiritual successor to CHARM, I recommend you try it!

Link: lemon-manuals.la or lemon-manuals.org.ua

(Some people have issue connecting. LEMON is investigating. For now, use Firefox or change your DNS server)

Or, hide this message: temporarily or permanently

Quarter Window Glass: Service and Repair




Quarter Glass Replacement

2-door

NOTE:

- Put on gloves to protect your hands.

- Wear eye protection when removing the glass with piano wire.

- Use seat covers to avoid damaging any surfaces.

- The quarter glass clips and the molding clips will need replacement because they will be damage during glass removal.

1. Remove these items:
- C-pillar trim 2-Door

- Rear side trim panel Service and Repair

- B-pillar upper trim 2-Door

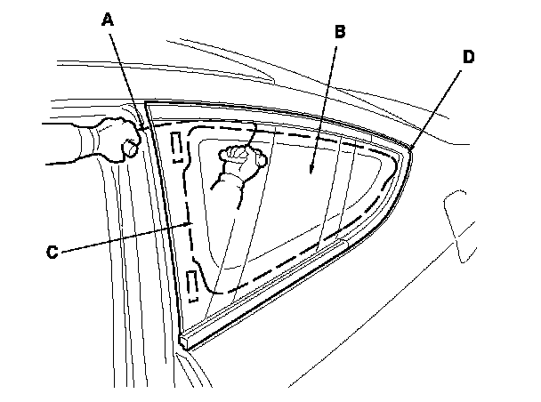
2. Remove the front seal (A) from the front edge of the quarter glass (B). If necessary, cut the seal with a utility knife.






3. Apply protective tape along the inside and outside edges of the body. From pillar side the vehicle, use a utility knife (A) to cut the front clips (B) of the quarter glass molding (C).

4. Using an awl, make a hole through adhesive from inside the vehicle at a front corner portion of the quarter glass. Push a piece of piano wire through the hole, and wrap each end around a piece of wood.






5. With a helper on the outside, pull the piano wire (A) back and forth in a sawing motion. Hold the piano wire as close to the quarter glass (B) as possible to prevent damage to the body, and carefully cut through the adhesive (C) in the straight areas and the front corners, but not the rear corner (D).






Cutting positions





6. From inside the vehicle, cut through the adhesive (A) of quarter glass rear corner and the rear clip (B) with a utility knife (C).

7. Use a putty knife to scrape old adhesive smooth to a thickness of about 2 mm (0.08 in.) on the bonding surface around the entire quarter glass opening flange:
- Do not scrape down to the painted surface of the body; damaged paint will interfere with proper bonding.

- Remove the clips from the body.

8. Clean the body bonding surface with a shop towel dampened in isopropyl alcohol. After cleaning, keep oil, grease, and water from getting on the surface.

9. Remove the quarter glass molding from the quarter glass. If the old quarter glass molding is to be reinstalled, replace the molding clips with new ones.

10. If the old quarter glass is to be reinstalled, use a putty knife to scrape off all of old adhesive and the damaged clips from the quarter glass. Clean the inside face and the edge of the quarter glass with isopropyl alcohol where new adhesive is to be applied. Make sure the bonding surface is kept free of water, oil, and grease.






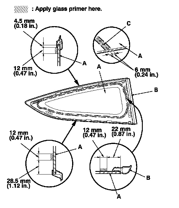
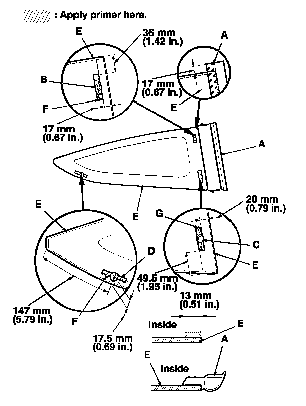
11. Attach the front seal (A), the upper clip (B), the lower clip (C), and the rear clip (D) with adhesive tape to the inside face of the quarter glass (E) as shown. Before installing the front seal, apply primer to the inside face of the quarter glass.
- Be careful not to touch the glass where adhesive will be applied.

- Be sure to install the upper clip and rear clip with their convex portions (F) downward.

- Be sure to install the lower clip with its convex portion (G) upward.










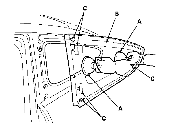
12. Install the quarter glass molding (A).
-1 Hold the molding up on the glass, and fit the hooks (B) of the molding to the edge of the glass rear corner first.
-2 From the rear corner to the front, hook the lower clips (C) and upper clips (D) of the molding to along the edges of the glass.
-3 Push the molding into place securely.
-3 NOTE:
- Take care not to bend or damage the molding.

- Be careful not to touch the glass where adhesive will be applied.

- Be sure the front seal contacts the upper and lower ends of the molding.





13. With a sponge applicator, apply a light coat of glass primer along the edge of the quarter glass (A) and the front seal (B) as shown, then lightly wipe it off with gauze or cheesecloth:
- With the printed dots (C) on the quarter glass as a guide, apply the glass primer to the rear corner, upper corner and lower corner portions of the quarter glass.

- Do not apply body primer to the quarter glass, and do not get body and glass primer sponge applicators mixed up.

- Never touch the primed surfaces with your hands. If you do, adhesive may not bond to the quarter glass properly, causing a leak after the quarter glass is installed.

- Keep water, dust, and abrasive materials away from the primed surfaces.





14. With a sponge applicator, carefully apply a light coat of body primer to any exposed paint or metal around the flange where new adhesive will be applied. Let the primer dry for at least 10 minutes:
- Do not apply body primer to any remaining original adhesive on the flange.

- Be careful not to mix up the body and glass primer sponge applicators.

- Never touch the primed surfaces with your hands.





15. Cut a "V" in the end of the nozzle (A) on the adhesive cartridge as shown.






16. Put the cartridge in a caulking gun, and run a bead of adhesive (A) around the edge of the quarter glass (B) and along the front seal (C) as shown. With the printed dots on the quarter glass as a guide, apply adhesive to the rear corner, upper corner and lower corner portions of the quarter glass. Apply adhesive within 30 minutes after applying the glass primer. Make a slightly thicker bead at each corner.






17. Use suction cups (A) to hold the quarter glass (B) over the opening, align it with the clips (C), and set it down on adhesive. Lightly push on the quarter glass until its edges are fully seated on adhesive all the way around.
NOTE: Do not open or close any of the doors for about an hour until adhesive is dry.

18. Scrape or wipe the excess adhesive off with a putty knife or towel. To remove adhesive from a painted surface or the quarter glass, use a soft shop towel dampened with isopropyl alcohol.

19. After adhesive has dried, spray water over the quarter glass and check for leaks. Mark the leaking areas, let the quarter glass dry, then seal with sealant. Let the vehicle stand for at least 4 hours after quarter glass installation. If the vehicle has to be used within the first 4 hours, it must be driven slowly.

20. Reinstall all remaining removed parts.
NOTE: Advise the customer not to do the following things for 2 to 3 days:

- Slam the doors with all the windows rolled up.

- Twist the body excessively (such as when going in and out of driveways at an angle or driving over rough, uneven roads).