Operation CHARM: Car repair manuals for everyone.
Manuals through 2025 now available!

Our trusted friends have launched a new website named LEMON, which has newer manuals. It also contains all the CHARM manuals.

LEMON is the spiritual successor to CHARM, I recommend you try it!

Link: lemon-manuals.la or lemon-manuals.org.ua

(Some people have issue connecting. LEMON is investigating. For now, use Firefox or change your DNS server)

Or, hide this message: temporarily or permanently

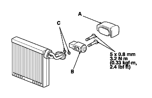
Expansion Valve: Service and Repair




A/C Expansion Valve Replacement

1. Remove the evaporator core. Blower Unit Component Replacement

2. Remove the expansion valve cover (A), the bolts, the expansion valve (B), and the O-rings (C) without bending lines.

3. Install the valve in the reverse order of removal, and note these items:
- If you're installing a new expansion valve, add refrigerant oil (SP-10). Service and Repair

- Replace the O-rings with new ones at each fitting, and apply a thin coat of refrigerant oil before installing them. Be sure to use the correct O-rings for HFC-134a (R-134a) to avoid leakage.

- Immediately after using the oil, reinstall the cap on the container, and seal it to avoid moisture absorption.

- Do not spill the refrigerant oil on the vehicle; it may damage the paint; if the refrigerant oil contacts the paint, wash it off immediately.

- Make sure that there is no air leakage.

- Charge the system. A/C System Charging