Data Link Connector: Testing and Inspection
DLC Circuit Troubleshooting
NOTE: Make sure the HDS and the HDS DLC cable are not defective.
1. Turn the ignition switch to LOCK (0).
2. Connect the HDS to the DLC. Initial Inspection and Diagnostic Overview
NOTE: Make sure the HDS is properly connected to the DLC.
3. Turn the ignition switch to ON (II), and read the HDS.
Does the HDS identify the vehicle?
YES - Go to step 4.
NO - Go to step 21.
4. Check for Temporary DTCs or DTCs in the PGM-FI system with the HDS.
Are any Temporary DTCs or DTCs indicated?
YES - Go to the indicated DTC's troubleshooting.
NO - Go to step 5.
5. Turn the ignition switch to LOCK (0).
6. Turn the ignition switch to ON (II), and watch the SRS indicator.
Does the SRS indicator stay on?
YES - Go to the SRS system's general troubleshooting information. Initial Inspection and Diagnostic Overview
NO - Go to step 7.
7. Turn the ignition switch to LOCK (0).
8. Turn the ignition switch to ON (II), and watch the VSA indicator.
Does the VSA indicator stay on?
YES - Go to the VSA system's general troubleshooting information. Initial Inspection and Diagnostic Overview
NO - Go to step 9.
9. Turn the ignition switch to LOCK (0).
10. Turn the ignition switch to ON (II), and watch the TPMS indicator.
Does the TPMS indicator stay on?
YES - Go to the TPMS system's general troubleshooting information. Initial Inspection and Diagnostic Overview
NO - Go to step 11.
11. Turn the ignition switch to LOCK (0).
12. Turn the ignition switch to ON (II), and watch the immobilizer indicator.
Does the immobilizer indicator stay on or flash?
YES - Go to the immobilizer system's troubleshooting. Description and Operation
NO - Go to step 13.
13. Do the gauge self-diagnostic function. Initial Inspection and Diagnostic Overview
14. Check for B-CAN system DTCs without the HDS. Initial Inspection and Diagnostic Overview
Are any B-CAN DTCs indicated?
YES - Go to the indicated DTC's troubleshooting.
NO - Go to step 15.
15. Turn the ignition switch to LOCK (0).
16. Disconnect the HDS from the DLC.
17. Check for continuity between DLC terminal No. 7 and body ground.
Is there continuity?
YES - Go to step 18.
NO - Go to step 19.
18. Continue to check for continuity between DLC terminal No. 7 and body ground, while disconnecting these connectors, one at a time:
- SRS unit connector A (28P)
- VSA modulator-control unit 46P connector
- TPMS unit 20P connector
- Immobilizer-keyless control unit 7P connector
- Audio unit 17P connector
- Under-dash fuse/relay box connector (Q) (16P)
Does continuity go away when one of the above parts is disconnected?
YES - Replace the part that caused an open when it was disconnected.
NO - Repair short in the wire between the DLC (K-line) and the VSA modulator-control unit, the SRS unit, the TPMS unit, the immobilizer-keyless control unit, the audio unit, or the under-dash fuse/relay box.
19. Connect DLC terminal No. 7 to body ground with a jumper wire.
20. Check for continuity between body ground and these connector terminals:
Is there continuity between the DLC terminal and each of the terminals in the chart?
YES - Replace the part that does not communicate with the HDS.
NO - Repair open in the wire between the DLC (K-line) and the appropriate connector.
21. Do the gauge self-diagnostic function. Initial Inspection and Diagnostic Overview
22. Check for B-CAN system DTCs without the HDS. Initial Inspection and Diagnostic Overview
Is DTC B1168, B1169, and/or B1178 indicated?
YES - Go to step 35.
NO - Go to step 23.
23. Turn the ignition switch to LOCK (0).
24. Disconnect the HDS from the DLC.
25. Measure the voltage between DLC terminal No. 16 and body ground.
Is there battery voltage?
YES - Go to step 26.
NO - Repair open in the wire between DLC terminal No. 16 and the No. 23 BACK UP (10 A) fuse in the under-hood fuse/relay box.
26. Measure the voltage between DLC terminals No. 4 and No. 16.
Is there battery voltage?
YES - Go to step 27.
NO - Repair open in the wire between DLC terminal No. 4 and body ground (G502).
27. Connect the HDS to the DLC. Initial Inspection and Diagnostic Overview
28. Jump the SCS line with the HDS.
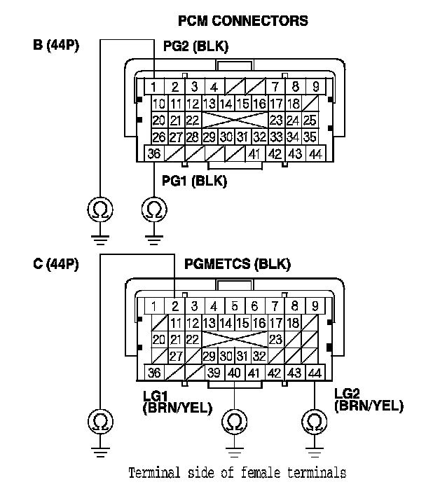
29. Disconnect PCM connector A (44P).
30. Disconnect the HDS from the DLC.
31. Connect DLC terminal No. 6 to body ground with a jumper wire.
32. Check for continuity between PCM connector terminal A36 and body ground.
Is there continuity?
YES - Go to step 33.
NO - Repair open in the wire between the PCM (A36) and DLC terminal No. 6.
33. Connect DLC terminal No. 14 to body ground with a jumper wire.
34. Check for continuity between PCM connector terminal A37 and body ground.
Is there continuity?
YES - Update the PCM if it does not have the latest software, PCM Update or substitute a known-good PCM, Initial Inspection and Diagnostic Overview then recheck. If the symptom/indication goes away with a known-good PCM, replace the original PCM. Service and Repair
NO - Repair open in the wire between the PCM (A37) and DLC terminal No. 14.
35. Try to start the engine.
Does the engine start and idle smoothly?
YES - Go to the F-CAN circuit troubleshooting. F-CAN Circuit Troubleshooting
NO - Go to step 36.
36. Turn the ignition switch to LOCK (0).
37. Check the No. 2 IG MAIN (50 A) fuse in the under-hood fuse/relay box.
Is the fuse OK?
YES - Repair open in the wire between the No. 2 IG MAIN (50 A) fuse and the ignition switch. If the wire is OK, go to step 38.
NO - Repair short in the wire between the No. 2 IG MAIN (50 A) fuse and the under-hood fuse/relay box. Also replace the No. 2 IG MAIN (50 A) fuse.
38. Inspect the No. 19 FI MAIN (15 A) fuse in the under-hood fuse/relay box.
Is the fuse OK?
YES - Go to step 45.
NO - Go to step 39.
39. Remove the blown No. 19 FI MAIN (15 A) fuse from the under-hood fuse/relay box.
40. Remove PGM-FI main relay 1 (C) from the under-hood fuse/relay box.
41. Check for continuity between body ground and PGM-FI main relay 1 4P connector terminals No. 1 and No. 3 individually.
Is there continuity?
YES - Replace the under-hood fuse/relay box. Under-hood Fuse/Relay Box Removal and Installation Also replace the No. 19 FI MAIN (15 A) fuse.
NO - Go to step 42.
42. While disconnecting each of the components or connectors below, one at a time, check for continuity between PGM-FI main relay 1 4P connector terminal No. 2 and body ground:
- PGM-FI main relay 2 (FUEL PUMP)
- PCM connector A (44P)
- Each injector 2P connector
- Camshaft position (CMP) sensor B 3P connector
- Crankshaft position (CKP) sensor 3P connector
- Electronic throttle control system (ETCS) control relay
Does continuity go away when one of the above parts is disconnected?
YES - Replace the part that made the short to body ground go away when disconnected. If the part is the PCM, update the PCM if it does not have the latest software, PCM Update or substitute a known-good PCM, Initial Inspection and Diagnostic Overview then recheck. If the symptom/indication goes away with a known-good PCM, replace the original PCM. Service and Repair Also replace the No. 19 FI MAIN (15 A) fuse.
NO - Go to step 43.
43. Disconnect the connectors from these parts:
- PGM-FI main relay 2 (FUEL PUMP)
- PCM connector A (44P)
- Injectors
- Camshaft position (CMP) sensor B
- Crankshaft position (CKP) sensor
- Electronic throttle control system (ETCS) control relay
44. Check for continuity between PGM-FI main relay 1 4P connector terminal No. 2 and body ground.
Is there continuity?
YES - Repair short in the wire between PGM-FI main relay 1 and each part. Also replace the No. 19 FI MAIN (15 A) fuse.
NO - Replace PGM-FI main relay 1. Also replace the No. 19 FI MAIN (15 A) fuse.
45. Inspect the No. 2 FUEL PUMP (15 A) fuse in the under-dash fuse/relay box.
Is the fuse OK?
YES - Go to step 57.
NO - Go to step 46.
46. Remove the blown No. 2 FUEL PUMP (15 A) fuse in the under-dash fuse/relay box.
47. Remove PGM-FI main relay 2 (FUEL PUMP) (A) from the under-dash fuse/relay box.
48. Test PGM-FI main relay 2 (FUEL PUMP). Testing and Inspection
Is the relay OK?
YES - Go to step 49.
NO - Replace PGM-FI main relay 2 (FUEL PUMP). Also replace the No. 2 FUEL PUMP (15 A) fuse.
49. Check for continuity between PGM-FI main relay 2 (FUEL PUMP) 4P connector terminal No. 1 and body ground.
Is there continuity?
YES - Go to step 50.
NO - Go to step 53.
50. Jump the SCS line with the HDS.
51. Disconnect PCM connector C (44P).
52. Check for continuity between PCM connector terminal C36 and body ground.
Is there continuity?
YES - Repair short in the wire between the No. 2 FUEL PUMP (15 A) fuse and the PCM (C36), between the No. 2 FUEL PUMP (15 A) fuse and PGM-FI main relay 2 (FUEL PUMP), or between the No. 2 FUEL PUMP (15 A) fuse and the immobilizer control unit. Also replace the No. 2 FUEL PUMP (15 A) fuse.
NO - Replace the No. 2 FUEL PUMP (15 A) fuse, and update the PCM if it does not have the latest software, PCM Update or substitute a known-good PCM, Initial Inspection and Diagnostic Overview then recheck. If the symptom/indication goes away with a known-good PCM, replace the original PCM. Service and Repair
53. Fold the left side rear seat forward, and pull back the carpet to expose the access panel.
54. Remove the access panel from the floor.
55. Disconnect the fuel pump 4P connector.
56. Check for continuity between fuel pump 4P connector terminal No. 2 and body ground.
Is there continuity?
YES - Repair short in the wire between the fuel pump and PGM-FI main relay 2 (FUEL PUMP). Also replace the No. 2 FUEL PUMP (15 A) fuse.
NO - Check the fuel pump, and replace it if needed. Testing and Inspection Also replace the No. 2 FUEL PUMP (15 A) fuse.
57. Jump the SCS line with the HDS.
58. Disconnect PCM connectors A (44P) and C (44P).
59. Turn the ignition switch to ON (II).
60. Measure the voltage between PCM connector terminal C36 and body ground.
Is there battery voltage?
YES - Go to step 61.
NO - Repair open in the wire between the No. 2 FUEL PUMP (15 A) fuse and the PCM (C36).
61. Measure the voltage between PCM connector terminal A6 and body ground.
Is there battery voltage?
YES - Go to step 66.
NO - Go to step 62.
62. Turn the ignition switch to LOCK (0).
63. Remove PGM-FI main relay 1 (C) from the under-hood fuse/relay box.
64. Measure the voltage between PGM-FI main relay 1 4P connector terminal No. 3 and body ground.
Is there battery voltage?
YES - Go to step 65.
NO - Replace the under-hood fuse/relay box. Under-hood Fuse/Relay Box Removal and Installation
65. Check for continuity between PGM-FI main relay 1 4P connector terminal No. 4 and PCM connector terminal A6.
Is there continuity?
YES - Test PGM-FI main relay 1. Testing and Inspection If the relay is OK, update the PCM if it does not have the latest software, PCM Update or substitute a known-good PCM, Initial Inspection and Diagnostic Overview then recheck. If the symptom/indication goes away with a known-good PCM, replace the original PCM. Service and Repair
NO - Repair open in the wire between the PCM (A6) and PGM-FI main relay 1.
66. Turn the ignition switch to LOCK (0).
67. Remove PGM-FI main relay 1 (C) from the under-hood fuse/relay box.
68. Measure the voltage between PGM-FI main relay 1 4P connector terminal No. 1 and body ground.
Is there battery voltage?
YES - Go to step 69.
NO - Replace the under-hood fuse/relay box. Under-hood Fuse/Relay Box Removal and Installation
69. Check for continuity between PGM-FI main relay 1 4P connector terminal No. 2 and PCM connector terminal A8.
Is there continuity?
YES - Go to step 70.
NO - Repair open in the wire between the PCM (A8) and PGM-FI main relay 1.
70. Test PGM-FI main relay 1. Testing and Inspection
Is the relay OK?
YES - Go to step 71.
NO - Replace PGM-FI main relay 1.
71. Disconnect PCM connector B (44P).
72. Check for continuity between body ground and PCM connector terminals B1, B36, C2, C40, and C44 individually.
Is there continuity?
YES - Go to step 73.
NO - Repair open in the wire between the PCM (B1, B36, C2, C40, C44) and G101.
73. Check for continuity between PCM connector terminal C13 and body ground.
Is there continuity?
YES - Go to step 74.
NO - Go to step 75.
74. Continue to check for continuity between PCM connector terminal C13 and body ground, while disconnecting these connectors, one at a time:
- MAP sensor 3P connector
- Output shaft (countershaft) speed sensor 3P connector.
Does continuity go away when one of the above parts is disconnected?
YES - Repair the part that caused an open when it was disconnected.
NO - Repair short in the between the PCM (C13) and the MAP sensor or the output shaft (countershaft) speed sensor.
75. Check for continuity between PCM connector terminal B18 and body ground.
Is there continuity?
YES - Go to step 76.
NO - Go to step 77.
76. Continue to check for continuity between PCM connector terminal B18 and body ground, while disconnecting these connectors, one at a time:
- EGR valve 6P connector
- Input shaft (mainshaft) speed sensor 3P connector
Does continuity go away when one of the above parts is disconnected?
YES - Repair the part that caused an open when it was disconnected.
NO - Repair short in the between the PCM (B18) and the EGR valve or the input shaft (mainshaft) speed sensor.
77. Check for continuity between PCM connector terminal C12 and body ground.
Is there continuity?
YES - Go to step 78.
NO - Go to step 79.
78. Continue to check for continuity between PCM connector terminal C12 and body ground, while disconnecting the throttle body 6P connector.
Is there continuity?
YES - Repair short in the wire between the PCM (C12) and the throttle body.
NO - Replace the throttle body. Removal and Replacement
79. Check for continuity between PCM connector terminal A25 and body ground.
Is there continuity?
YES - Go to step 80.
NO - Go to step 81.
80. Continue to check for continuity between PCM connector terminal A25 and body ground, while disconnecting the APP sensor 6P connector.
Is there continuity?
YES - Repair short in the wire between the PCM (A25) and APP sensor A.
NO - Replace the accelerator pedal module. Service and Repair
81. Check for continuity between PCM connector terminal A24 and body ground.
Is there continuity?
YES - Go to step 82.
NO - Go to step 83.
82. Continue to check for continuity between PCM connector terminal A24 and body ground, while disconnecting the APP sensor 6P connector.
Is there continuity?
YES - Repair short in the wire between the PCM (A24) and APP sensor B.
NO - Replace the accelerator pedal module. Service and Repair
83. Check for continuity between PCM connector terminal A19 and body ground.
Is there continuity?
YES - Go to step 84.
NO - Update the PCM if it does not have the latest software, PCM Update or substitute a known-good PCM, Initial Inspection and Diagnostic Overview then recheck. If the symptom/indication goes away with a known-good PCM, replace the original PCM. Service and Repair
84. Continue to check for continuity between PCM connector terminal A19 and body ground, while disconnecting these connectors, one at a time:
- A/C pressure sensor 3P connector
- FTP sensor 3P connector
Does continuity go away when one of the above parts is disconnected?
YES - Replace the part that caused an open when it was disconnected.
NO - Repair short in the wire between the PCM (A19) and the A/C pressure sensor or the FTP sensor.