Operation CHARM: Car repair manuals for everyone.
Manuals through 2025 now available!

Our trusted friends have launched a new website named LEMON, which has newer manuals. It also contains all the CHARM manuals.

LEMON is the spiritual successor to CHARM, I recommend you try it!

Link: lemon-manuals.la or lemon-manuals.org.ua

(Some people have issue connecting. LEMON is investigating. For now, use Firefox or change your DNS server)

Or, hide this message: temporarily or permanently

Tightening Torques and Sequences

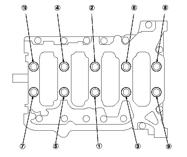
Cylinder Head

Torque in sequence 39 Nm (4.0 kgf-m, 29 lbf-ft).






After torquing, tighten all cylinder head bolts in two steps (90° per step). If you are using a new cylinder head bolt, tighten the bolt an extra 90°.






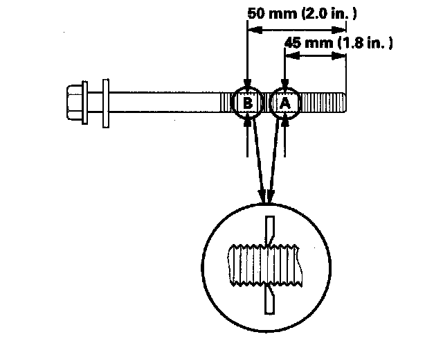
Measure the diameter of each cylinder head bolt at point A and point B.






If either diameter is less than 10.6 mm (0.42 in.), replace the cylinder head bolt.


Intake Manifold






Camshaft Caps






Main Caps

Torque 29 N-m (3.0 kgf-m, 22 lbf-ft)





Tighten bearing cap bolts additional 56°.





Tighten the 8 mm bolts 22 N-m (2.2 kgf-m, 16 lbf-ft).






Connecting Rod Caps

Torque 20 N-m (2.0 kgf-m, 14 lbf-ft)
Tighten additional 90°.






Crankshaft Pulley

Torque 49 N-m (5.0 kgf-m, 36 lbf-ft)
Tighten additional 90°.






Flex Plate

Tighten in a crisscross pattern in at least two steps






Oil Pump






Exhaust Manifold






Water Pump