Operation CHARM: Car repair manuals for everyone.
Manuals through 2025 now available!

Our trusted friends have launched a new website named LEMON, which has newer manuals. It also contains all the CHARM manuals.

LEMON is the spiritual successor to CHARM, I recommend you try it!

Link: lemon-manuals.la or lemon-manuals.org.ua

(Some people have issue connecting. LEMON is investigating. For now, use Firefox or change your DNS server)

Or, hide this message: temporarily or permanently

Engine Installation




Engine Installation

Special Tools Required

- Universal lifting eyelet 07AAK-SNAA120
- 1.8 support eyelet 07AAK-SNAA400
- 1.8 support bolt 07AAK-SNAA500
- Engine support hanger, A and Reds AAR-T1256*
- 2006 Civic engine hanger VSB02C000025*
- Front subframe adapter VSB02C000016*
*: These special tools are available through Honda Tool and Equipment Program.

1. Install the engine mount brackets and the accessory brackets, then tighten their bolts to the specified torques.






2. Raise the vehicle on the lift, then position the engine/transmission under the vehicle. Lower the vehicle, and install the universal lifting eyelet (07AAK-SNAA120). Attach a chain hoist to the universal lifting eyelet and the transmission hook, then lift the engine into position in the vehicle.
NOTE: Reinstall the mounting bolts/support nuts in the sequence given in the following steps. Failure to follow this sequence may cause excessive noise and vibration, and reduce engine mount life.






3. Install the 1.8 support eyelet (07AAK-SNAA400) behind the breather pipe (A) and down to the thread hole (B) on the cylinder head.






4. Attach the 1.8 support eyelet (A) to the cylinder head with the 1.8 support bolt (07AAK-SNAA500). Tighten the bolt by hand.






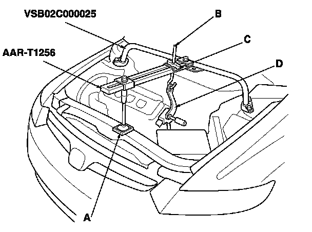
5. Install the front leg assembly (A), the hook (B), and the wing nut (C) to an A and Reds engine support hanger (AAR-T1256) onto the 2006 Civic engine hanger (VSB02C000025). Carefully position the 2006 Civic engine hanger on the vehicle, and attach the hook to the slotted hole in the support eyelet (D). Tighten the wing nut by hand to lift and support the engine/transmission.
NOTE: Be careful when working around the windshield.






6. Loosen the upper torque rod mounting bolt (A).






7. Tighten the new side engine mount bracket mounting bolt and nut.






8. Tighten the new transmission mounting bolt and nuts (A).

9. Install the ground cable (B).

10. Remove the chain hoist, then raise the vehicle on the lift.






11. Using the front subframe adapter (VSB02C000016) and a jack, raise the subframe up to the body.






12. Loosely install the new front subframe mounting bolts.






13. Align all reference marks (A) on the front subframe (B) with the edge of the body (C), then tighten the bolts on the front subframe to the specified torque.

14. Remove the jack and the front subframe adapter.






15. Tighten the new mid-stiffener mounting bolts on both sides.






16. Install the lower torque rod, then tighten the new lower torque rod mounting bolts in the numbered sequence shown.

17. Lower the vehicle on the lift, and remove the engine hanger, the 1.8 support eyelet, and the 1.8 support bolt.






18. Tighten the upper torque rod mounting bolt.






19. Remove the universal lifting eyelet (A) and the bolt (B), then install the ground cable (C).

20. Raise the vehicle on the lift.






21. Install the steering gearbox stiffener (A), then tighten the steering gearbox mounting bolt and the stiffener bolt.

22. Position the "FR" mark to the front of the vehicle, then install the steering gearbox bracket (B).






23. Install the steering gearbox stiffener (A), then tighten the steering gearbox mounting bolt and the stiffener bolt.






24. Install the power steering (P/S) line on the clamp (A), then install the P/S line brackets (B) on the front subframe.






25. Install the P/S pump.

26. Install the shift cable. Automatic Transmission Installation

27. Install a new set ring on the end of each driveshaft, then install the driveshafts. Driveshaft Installation Make sure each ring "clicks" into place in the differential and the intermediate shaft.

28. Connect the lower arms to the knuckles. Lower Ball Joint Replacement

29. Connect the stabilizer links. Front Lower Arm Removal/Installation






30. Install exhaust pipe A. Use new gaskets (B) and new self-locking nuts (C).






31. Install the splash shield.

32. Lower the vehicle on the lift.






33. Connect the heater hoses.






34. Install the A/C compressor (A).

35. Connect the A/C compressor clutch connector (B), then install the harness clamp (C).

36. Install the drive belt. Drive Belt Removal/Installation

37. Remove the bulkhead, then install the radiator. Service and Repair






38. Connect the powertrain control module (PCM) connectors (A) and the engine wire harness connectors (B).

39. Install the harness clamps (C).






40. Install the PCM (A), then install the PCM cover (B).






41. Connect the battery cables (A) to the under-hood fuse/relay box.

42. Install the harness clamps (B).






43. Connect the vacuum hose (A) and the brake booster vacuum hose (B), and install the power steering (P/S) hose clamp (C).






44. Connect the fuel feed hose (A). Use new O-ring (B).

45. Install the under-cowl panel and the cowl cover. Service and Repair






46. Install the air cleaner mounting bracket (A) on the cylinder head.

47. Install the air intake duct. Service and Repair

48. Install the air cleaner. Service and Repair

49. Install the front wheels.

50. Do the battery installation procedure. Removal and Replacement

51. Do the leak Inspection. Testing and Inspection

52. Refill the engine with engine oil. Service and Repair

53. Refill the transmission with fluid. ATF Replacement

54. Move the shift lever to each gear, and verify that the A/T gear position indicator follows the transmission range switch.

55. Refill the radiator with engine coolant, and bleed the air from the cooling system with the heater valve open. Service and Repair

56. Do the PCM reset procedure. Initial Inspection and Diagnostic Overview

57. Do the PCM idle learn procedure. ECM/PCM Idle Learn Procedure

58. Do the crankshaft position (CKP) pattern clear/CKP pattern learn procedure. Initial Inspection and Diagnostic Overview

59. Inspect the idle speed. Testing and Inspection

60. Inspect the ignition timing. Testing and Inspection

61. Check the wheel alignment. Service and Repair