Operation CHARM: Car repair manuals for everyone.
Manuals through 2025 now available!

Our trusted friends have launched a new website named LEMON, which has newer manuals. It also contains all the CHARM manuals.

LEMON is the spiritual successor to CHARM, I recommend you try it!

Link: lemon-manuals.la or lemon-manuals.org.ua

(Some people have issue connecting. LEMON is investigating. For now, use Firefox or change your DNS server)

Or, hide this message: temporarily or permanently

Data Link Connector: Testing and Inspection




DLC Circuit Troubleshooting

NOTE: Make sure the HDS and the HDS DLC cable are working properly.

1. Turn the ignition switch to LOCK (0).

2. Connect the HDS to the DLC. Initial Inspection and Diagnostic Overview
NOTE: Make sure the HDS is properly connected to the DLC.

3. Turn the ignition switch to ON (II), and read the HDS.

Does the HDS identify the vehicle?
YES - Go to step 4.

NO - Go to step 21.


4. Check for Temporary DTCs or DTCs in the PGM-FI system with the HDS.

Are any Temporary DTCs or DTCs indicated?
YES - Go to the indicated DTC's troubleshooting.

NO - Go to step 5.


5. Turn the ignition switch to LOCK (0).

6. Turn the ignition switch to ON (II), and watch the SRS indicator.

Does the SRS indicator stay on?
YES - Go to the SRS system's general troubleshooting information. Initial Inspection and Diagnostic Overview

NO - Go to step 7.


7. Turn the ignition switch to LOCK (0).

8. Turn the ignition switch to ON (II), and watch the ABS indicator.

Does the ABS indicator stay on?
YES - Go to the ABS system's general troubleshooting information. How To Troubleshoot The ABS (Without VSA)

NO - Go to step 9.


9. Turn the ignition switch to LOCK (0).

10. Turn the ignition switch to ON (II), and watch the immobilizer indicator.

Does the immobilizer indicator stay on or flash?
YES - Go to the immobilizer system's troubleshooting. Immobilizer System Symptom Troubleshooting Information

NO -
- With TPMS: Go to step 11.

- Without TPMS: Go to step 13.



11. Turn the ignition switch to LOCK (0).

12. Turn the ignition switch to ON (II), and watch the TPMS indicator.

Does the TPMS indicator stay on?
YES - Go to the TPMS indicator system's troubleshooting. Initial Inspection and Diagnostic Overview

NO - Go to step 13.


13. Do the gauge self-diagnostic function. Initial Inspection and Diagnostic Overview

14. Check for B-CAN system DTCs without the HDS. Initial Inspection and Diagnostic Overview

Are any B-CAN DTCs indicated?
YES - Go to the indicated DTC's troubleshooting.

NO - Go to step 15.


15. Turn the ignition switch to LOCK (0).

16. Disconnect the HDS from the DLC.

17. Check for continuity between DLC terminal No. 7 and body ground.

Is there continuity?
YES - Go to step 18.

NO - Go to step 19.






18. Continue to check for continuity between DLC terminal No. 7 and body ground while disconnecting these connectors, one at a time:
- SRS unit connector A (28P)

- ABS modulator-control unit 25P connector

- Immobilizer-keyless control unit 7P connector

- TPMS control unit 20P connector (with TPMS)

- Audio unit 17P connector

- Under-dash fuse/relay box (Q) 16P connector

Does continuity go away when one of the above parts is disconnected?
YES - Replace the part that caused an open when it was disconnected.

NO - Repair short in the wire between the DLC (K-line) and the ABS modulator-control unit, the SRS unit, the immobilizer-keyless control unit, the TPMS control unit (with TPMS), the audio unit, or the under-dash fuse/relay box.


19. Connect DLC terminal No. 7 to body ground with a jumper wire.






20. Check for continuity between body ground and these connector terminals:





Is there continuity between the DLC terminal and each of the terminals in the chart?
YES - Replace the part that does not communicate with the HDS.

NO - Repair open in the wire between the DLC (K-line) and the appropriate connector.


21. Do the gauge self-diagnostic function. Initial Inspection and Diagnostic Overview

22. Check for B-CAN system DTCs without the HDS. Initial Inspection and Diagnostic Overview

Is DTC B1168, B1169, and/or B1178 indicated?
YES - Go to step 35.

NO - Go to step 23.


23. Turn the ignition switch to LOCK (0).

24. Disconnect the HDS from the DLC.

25. Measure the voltage between DLC terminal No. 16 and body ground.

Is there battery voltage?
YES - Go to step 26.

NO - Repair open in the wire between DLC terminal No. 16 and the No. 23 BACK UP (10 A) fuse in the under-hood fuse/relay box.






26. Measure the voltage between DLC terminals No. 4 and No. 16.

Is there battery voltage?
YES - Go to step 27.

NO - Repair open in the wire between DLC terminal No. 4 and G502.






27. Connect the HDS to the DLC. Initial Inspection and Diagnostic Overview

28. Jump the SCS line with the HDS.

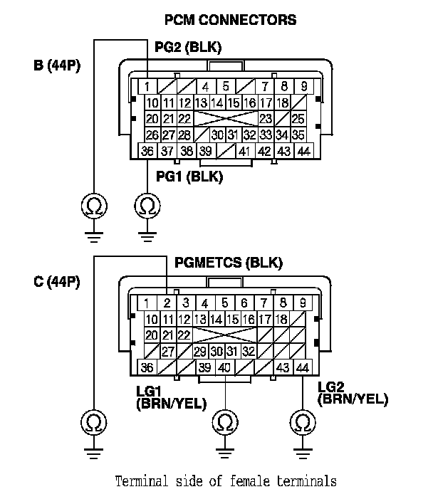
29. Disconnect PCM connector A (44P).

30. Disconnect the HDS from the DLC.

31. Connect DLC terminal No. 6 to body ground with a jumper wire.






32. Check for continuity between PCM connector terminal A36 and body ground.

Is there continuity?
YES - Go to step 33.

NO - Repair open in the wire between the PCM (A36) and DLC terminal No. 6.






33. Connect DLC terminal No. 14 to body ground with a jumper wire.






34. Check for continuity between PCM connector terminal A37 and body ground.

Is there continuity?
YES - Update the PCM if it does not have the latest software, PCM Update or substitute a known-good PCM, Initial Inspection and Diagnostic Overview then recheck. If the symptom/indication goes away with a known-good PCM, replace the original PCM. Service and Repair

NO - Repair open in the wire between the PCM (A37) and DLC terminal No. 14.






35. Try to start the engine.

Does the engine start and idle smoothly?
YES - Go to the F-CAN circuit troubleshooting. F-CAN Circuit Troubleshooting

NO - Go to step 36.


36. Turn the ignition switch to LOCK (0).

37. Check the No. 2 IG MAIN (50 A) fuse in the under-hood fuse/relay box.

Is the fuse OK?
YES - Repair open in the wire between the No. 2 IG MAIN (50 A) fuse and the ignition switch. If the wire is OK, go to step 38.

NO - Repair short in the wire between the No. 2 IG MAIN (50 A) fuse and the under-hood fuse/relay box. Also replace the No. 2 IG MAIN (50 A) fuse.


38. Inspect the No. 19 FI MAIN (15 A) fuse in the under-hood fuse/relay box.

Is the fuse OK?
YES - Go to step 45.

NO - Go to step 39.


39. Remove the blown No. 19 FI MAIN (15 A) fuse from the under-hood fuse/relay box.

40. Remove PGM-FI main relay 1 (C) from the under-hood fuse/relay box.






41. Check for continuity between body ground and PGM-FI main relay 1 4P connector terminals No. 1 and No. 3 individually.

Is there continuity?
YES - Replace the under-hood fuse/relay box. Under-Hood Fuse/Relay Box Removal and Installation Also replace the No. 19 FI MAIN (15 A) fuse.

NO - Go to step 42.






42. Disconnect each of the parts or connectors below, one at a time, while checking for continuity between PGM-FI main relay 1 4P connector terminal No. 2 and body ground.
- Fuel shut-off solenoid valve relay

- PCM connector A (44P)

- Camshaft position (CMP) sensor 3P connector

- Crankshaft position (CKP) sensor 3P connector

- Injector control module relay

- Ignition coil relay

- Electronic throttle control system (ETCS) control relay

Does continuity go away when one of the above parts is disconnected?
YES - Replace the part that made the short to body ground go away when disconnected. If the part is the PCM, update the PCM if it does not have the latest software, PCM Update or substitute a known-good PCM, Initial Inspection and Diagnostic Overview then recheck. If the symptom/indication goes away with a known-good PCM, replace the original PCM. Service and Repair Also replace the No. 19 FI MAIN (15 A) fuse.

NO - Go to step 43.






43. Disconnect these parts and connectors:
- Fuel shut-off solenoid valve relay

- PCM connector A (44P)

- Camshaft position (CMP) sensor

- Crankshaft position (CKP) sensor

- Injector control module relay

- Ignition coil relay

- Electronic throttle control system (ETCS) control relay

44. Check for continuity between PGM-FI main relay 1 4P connector terminal No. 2 and body ground.

Is there continuity?
YES - Repair short in the wire between PGM-FI main relay 1 and each part. Also replace the No. 19 FI MAIN (15 A) fuse.

NO - Replace PGM-FI main relay 1. Also replace the No. 19 FI MAIN (15 A) fuse.






45. Inspect the No. 2 FUEL PUMP (15 A) fuse in the under-dash fuse/relay box.

Is the fuse OK?
YES - Go to step 53.

NO - Go to step 46.


46. Remove the blown No. 2 FUEL PUMP (15 A) fuse from the under-dash fuse/relay box.

47. Remove the driver's dashboard undercover. Drivers Dashboard Undercover Removal/Installation

48. Remove the fuel shut-off solenoid valve relay (A) from the relay holder.






49. Test the fuel shut-off solenoid valve relay. Power Relay Test

Is the relay OK?
YES - Go to step 50.

NO - Replace the fuel shut-off solenoid valve relay. Also replace the No. 2 FUEL PUMP (15A) fuse.


50. Check for continuity between the fuel shut-off solenoid valve relay 5P connector terminal No. 1 and body ground.

Is there continuity?
YES - Go to step 51.

NO - Go to step 53.






51. Jump the SCS line with the HDS, then disconnect PCM connector C (44P).

52. Check for continuity between PCM connector terminal C36 and body ground.

Is there continuity?
YES - Repair short in the wire between the No. 2 FUEL PUMP (15 A) fuse and the PCM (C36), between the No. 2 FUEL PUMP (15 A) fuse and the fuel shut-off solenoid valve relay, or between the No. 2 FUEL PUMP (15 A) fuse and the immobilizer control unit. Also replace the No. 2 FUEL PUMP (15 A) fuse.

NO - Do the fuel pressure regulator shut-off solenoid valve/fuel tank internal solenoid valve troubleshooting. Testing and Inspection






53. Jump the SCS line with the HDS.

54. Disconnect PCM connectors A (44P) and C (44P).

55. Turn the ignition switch to ON (II).

56. Measure the voltage between PCM connector terminal C36 and body ground.

Is there battery voltage?
YES - Go to step 57.

NO - Repair open in the wire between the No. 2 FUEL PUMP (15 A) fuse and the PCM (C36).






57. Measure the voltage between PCM connector terminal A6 and body ground.

Is there battery voltage?
YES - Go to step 62.

NO - Go to step 58.






58. Turn the ignition switch to LOCK (0).

59. Remove PGM-FI main relay 1 (C) from the under-hood fuse/relay box.






60. Measure the voltage between PGM-FI main relay 1 4P connector terminal No. 3 and body ground.

Is there battery voltage?
YES - Go to step 61.

NO - Replace the under-hood fuse/relay box. Under-Hood Fuse/Relay Box Removal and Installation






61. Check for continuity between PGM-FI main relay 1 4P connector terminal No. 4 and PCM connector terminal A6.

Is there continuity?
YES - Test PGM-FI main relay 1. Power Relay Test If the relay is OK, update the PCM if it does not have the latest software, PCM Update or substitute a known-good PCM, Initial Inspection and Diagnostic Overview then recheck. If the symptom/indication goes away with a known-good PCM, replace the original PCM. Service and Repair

NO - Repair open in the wire between the PCM (A6) and PGM-FI main relay 1.






62. Turn the ignition switch to LOCK (0).

63. Remove PGM-FI main relay 1 (C) from the under-hood fuse/relay box.






64. Measure the voltage between PGM-FI main relay 1 4P connector terminal No. 1 and body ground.

Is there battery voltage?
YES - Go to step 65.

NO - Replace the under-hood fuse/relay box. Under-Hood Fuse/Relay Box Removal and Installation






65. Check for continuity between PGM-FI main relay 1 4P connector terminal No. 2 and PCM connector terminal A8.

Is there continuity?
YES - Go to step 66.

NO - Repair open in the wire between the PCM (A8) and PGM-FI main relay 1.






66. Test PGM-FI main relay 1. Power Relay Test

Is PGM-FI main relay 1 OK?
YES - Go to step 67.

NO - Replace PGM-FI main relay 1.


67. Check the injector control module relay circuit. Injector Control Module Relay Circuit Troubleshooting

Is the injector control module relay circuit OK?
YES - Go to step 69.

NO - Follow the result of the injector control module relay troubleshooting. Injector Control Module Relay Circuit Troubleshooting


68. Check the injector control module circuit. Injector Control Module Circuit Troubleshooting

Is the injector control module circuit OK?
YES - Go to step 69.

NO - Follow the result of the injector control module circuit troubleshooting. Injector Control Module Circuit Troubleshooting


69. Disconnect PCM connector B (44P).

70. Check for continuity between body ground and PCM connector terminals B1, B36, C2, C40, and C44 individually.

Is there continuity?
YES - Go to step 71.

NO - Repair open in the wire between the PCM (B1, B36, C2, C40, C44) and G101.






71. Check for continuity between PCM connector terminal C13 and body ground.

Is there continuity?
YES - Go to step 72.

NO - Go to step 73.






72. Continue to check for continuity between PCM connector terminal C13 and body ground, while disconnecting these connectors, one at a time:
- MAP sensor 3P connector

- Rocker arm oil pressure sensor (EOP sensor) 3P connector ('06 model)

- Output shaft (countershaft) speed sensor 3P connector

Does continuity go away when one of the above sensors is disconnected?
YES - Replace the sensor that caused an open when it was disconnected.

NO - Repair short in the wire between the PCM (C13) and the MAP sensor, the rocker arm oil pressure sensor (EOP sensor) ('06 model), or the output shaft (countershaft) speed sensor.


73. Check for continuity between PCM connector terminal B18 and body ground.

Is there continuity?
YES - Go to step 74.

NO - Go to step 75.






74. Continue to check for continuity between PCM connector terminal B18 and body ground, while disconnecting these connectors, one at a time:
- IMT actuator 5P connector

- Rocker arm oil pressure sensor (EOP sensor) 3P connector ('07-09 models)

- Input shaft (mainshaft) speed sensor 3P connector

Does continuity go away when one of the above parts is disconnected?
YES - Replace the part that caused an open when it was disconnected.

NO - Repair short in the wire between the PCM (B18) and the IMT actuator, the rocker arm oil pressure sensor (EOP sensor) ('07-09 models), or the input shaft (mainshaft) speed sensor.


75. Check for continuity between PCM connector terminal C12 and body ground.

Is there continuity?
YES - Go to step 76.

NO - Go to step 77.






76. Continue to check for continuity between PCM connector terminal C12 and body ground, while disconnecting the throttle body 6P connector.

Is there continuity?
YES - Repair short in the wire between the PCM (C12) and the throttle body.

NO - Replace the throttle body. Removal and Replacement


77. Check for continuity between PCM connector terminal A25 and body ground.

Is there continuity?
YES - Go to step 78.

NO - Go to step 79.






78. Continue to check for continuity between PCM connector terminal A25 and body ground, while disconnecting the APP sensor 6P connector.

Is there continuity?
YES - Repair short in the wire between the PCM (A25) and the APP sensor.

NO - Replace the accelerator pedal module. Service and Repair


79. Check for continuity between PCM connector terminal A24 and body ground.

Is there continuity?
YES - Go to step 80.

NO - Go to step 81.






80. Continue to check for continuity between PCM connector terminal A24 and body ground, while disconnecting the APP sensor 6P connector.

Is there continuity?
YES - Repair short in the wire between the PCM (A24) and the APP sensor.

NO - Replace the accelerator pedal module. Service and Repair


81. Check for continuity between PCM connector terminal A19 and body ground.

Is there continuity?
YES - Go to step 82.

NO - Update the PCM if it does not have the latest software, PCM Update or substitute a known-good PCM, Initial Inspection and Diagnostic Overview then recheck. If the symptom/indication goes away with a known-good PCM, replace the original PCM. Service and Repair






82. Continue to check for continuity between PCM connector terminal A19 and body ground, while disconnecting these connectors, one at a time:
- A/C pressure sensor 3P connector

- Fuel rail pressure sensor

- FTP sensor 3P connector

Does continuity go away when any of the above sensors are disconnected?
YES - Replace the sensor that caused an open when it was disconnected.

NO - Repair short in the wire between the PCM (A19) and the A/C pressure sensor, the fuel rail pressure sensor, or the FTP sensor.