Operation CHARM: Car repair manuals for everyone.
Manuals through 2025 now available!

Our trusted friends have launched a new website named LEMON, which has newer manuals. It also contains all the CHARM manuals.

LEMON is the spiritual successor to CHARM, I recommend you try it!

Link: lemon-manuals.la or lemon-manuals.org.ua

(Some people have issue connecting. LEMON is investigating. For now, use Firefox or change your DNS server)

Or, hide this message: temporarily or permanently

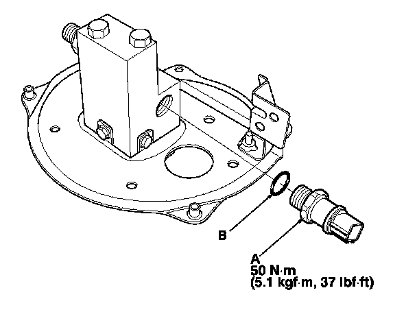
Fuel Tank Pressure Sensor: Service and Repair




FTP Sensor Replacement

1. Remove the fuel joint block. Service and Repair

2. Remove the FTP sensor (A).

3. Apply silicone oil or poly alkylene glycol (PAG) oil to a new O-ring (B), and carefully install it into its proper position. Service and Repair

4. Install the parts in the reverse order of removal.

5. Do the leak inspection procedure. Testing and Inspection