Operation CHARM: Car repair manuals for everyone.
Manuals through 2025 now available!

Our trusted friends have launched a new website named LEMON, which has newer manuals. It also contains all the CHARM manuals.

LEMON is the spiritual successor to CHARM, I recommend you try it!

Link: lemon-manuals.la or lemon-manuals.org.ua

(Some people have issue connecting. LEMON is investigating. For now, use Firefox or change your DNS server)

Or, hide this message: temporarily or permanently

Parking Brake System: Adjustments




Parking Brake Inspection and Adjustment

Inspection

1. Pull the parking brake lever (A) with 196 N (20 kgf, 44 lbf) of force to fully apply the parking brake. The parking brake lever should be locked within the specified number of clicks (B).





NOTE: The illustration shows all except SC model.

2. If the number of lever clicks is not as specified, adjust the parking brake.
NOTE: Minor parking brake adjustments (1 to 2 clicks) can be made with the adjusting nut (see parking brake minor adjustment). If a larger adjustment is required, follow the major adjustment procedure using the adjuster at the parking brake drum (see parking brake major adjustment).

After installing new parking brake shoes and/or new brake disc/drum, make sure you drive the vehicle for "break-in". Procedures






Minor Adjustment

1. Raise the rear of the vehicle, and support it with safety stands in the proper locations. Service and Repair

2. Release the parking brake lever fully.

3. Remove the lid from the center console.

4. Pull the parking brake lever 1 click.

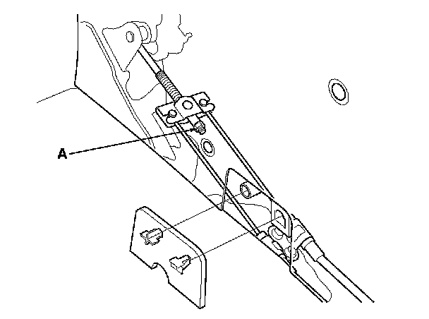
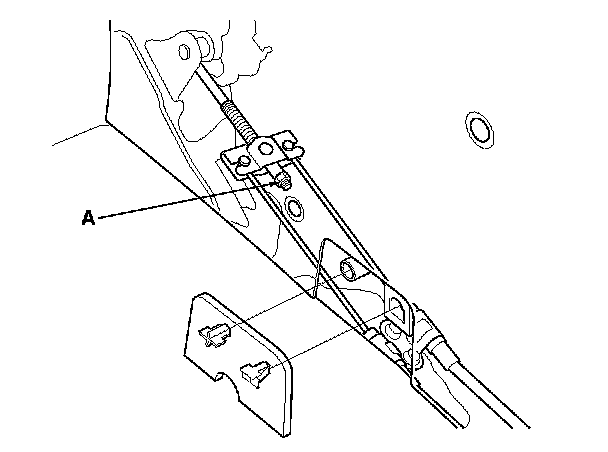
5. Tighten the parking brake adjusting nut (A) until the parking brakes drag slightly when the rear wheels are turned.

6. Release the parking brake lever fully, and check that the parking brakes do not drag when the rear wheels are turned. Readjust if necessary.

7. Make sure the parking brakes are fully applied when the parking brake lever is pulled in all the way.

8. Install the center console.









Major Adjustment (to be done when replacing parking brake shoes and after lining surface break-in)

1. Raise the rear of the vehicle, and support it with safety stands in the proper locations. Service and Repair

2. Release the parking brake lever fully.

3. Remove the center console.

4. Loosen the parking brake adjusting nut (A).

5. Remove the rear wheels.

Except SC model





SC model





6. Remove the access plug (A).

7. Turn the ratchet teeth on the adjuster nut (B) with a flat-tip screwdriver (C) until the shoes lock against the parking brake drum. Then back off the adjuster 8 clicks, and install the access plug.

8. Clean the mating surfaces between the brake disc/drum and the inside of the wheel, then install the rear wheels.

9. Do the minor adjustment procedure.

10. Install the center console.