Operation CHARM: Car repair manuals for everyone.
Manuals through 2025 now available!

Our trusted friends have launched a new website named LEMON, which has newer manuals. It also contains all the CHARM manuals.

LEMON is the spiritual successor to CHARM, I recommend you try it!

Link: lemon-manuals.la or lemon-manuals.org.ua

(Some people have issue connecting. LEMON is investigating. For now, use Firefox or change your DNS server)

Or, hide this message: temporarily or permanently

Back Window Glass: Service and Repair




Rear Window Replacement

NOTE:

- Put on gloves to protect your hands.

- Wear eye protection while cutting the glass adhesive with piano wire.

- Use seat covers to avoid damaging any surfaces.

- Do not damage the rear window defogger grid lines or the terminals.

1. Remove these items:
- Hatch trim panel Interior Trim Removal/Installation - Hatch Area

- Rear window wiper motor Rear Window Wiper Motor Replacement

- High mount brake light Service and Repair

2. Disconnect the rear window defogger connectors (A), and remove the rear window trim (B).

3. Apply protective tape along the inside and outside edges of the tailgate. Using an awl, make a hole through the adhesive from inside the vehicle at a corner of the rear window. Push the piano wire through the hole, and wrap each end around a piece of wood.






4. With a helper on the outside, pull the piano wire (A) back and forth in a sawing motion. Hold the piano wire as close to the rear window (B) as possible to prevent damage to the tailgate, and carefully cut through the adhesive (C) around the entire rear window.

5. Carefully remove the rear window.

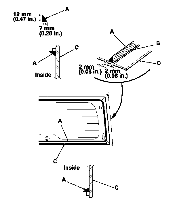
6. Scrape smooth the old adhesive, with a putty knife or similar tool, until there is a thickness of about 2 mm (0.08 in.) on the bonding surface around the entire rear window opening flange:
- Do not scrape down to the painted surface of the body; damaged paint will interfere with proper bonding.

- Remove the fasteners from the tailgate.

7. Clean the tailgate bonding surface with a shop towel dampened in isopropyl alcohol. After cleaning, keep oil, grease, and water from getting on the surface.

8. If you are reinstalling the old rear window, scrape off all of the old adhesive and the rubber dam from the rear window with a putty knife. Clean the bonding surfaces on the inside face and the edge of the rear window with isopropyl alcohol. Make sure the bonding surface is kept free of water, oil, and grease.






Cutting positions





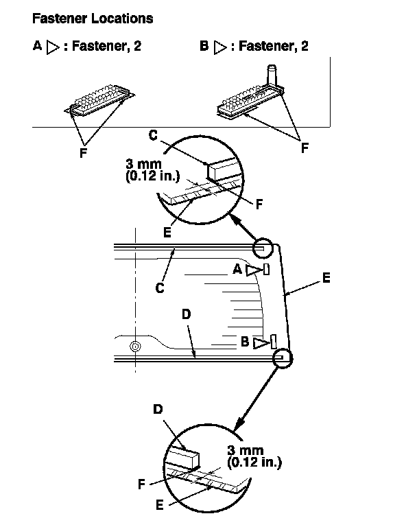
9. Attach the upper corner fasteners (A) and the lower corner fasteners (B) with adhesive tape. Attach the upper rubber dam (C) and lower rubber dam (D) with adhesive tape to the inside surface of the rear window (E) as shown:
- Be sure the fasteners and the rubber dams line up with alignment marks (F).

- Be careful not to touch the rear window where adhesive is applied.














10. Attach the corner fasteners (A, B) with adhesive tape to the tailgate as shown.










11. Set the rear window in the opening, and center it. Make alignment marks (A) across the rear window, tailgate, and body with a grease pencil at the four points shown. Be careful not to touch the rear window where adhesive is applied.

12. Remove the rear window.






13. Apply a light coat of glass primer to the edge of the rear window (A) with a sponge applicator along the rubber dams (B) as shown, then lightly wipe it off with gauze or cheesecloth:
- Apply the glass primer to both side portions of the rear window using the printed dots (C) on the rear window as a guide.

- Do not apply body primer to the rear window, and be careful not to mix up the body and glass primer sponge applicators.

- Never touch the primed surfaces with your hands. If you do, the adhesive may not bond to the rear window properly, causing a leak after the rear window is installed.

- Keep water, dust, and abrasive materials away from the primed surface.





14. Carefully apply a light coat of body primer with a sponge applicator to any exposed paint around the flange where new adhesive is applied. Let the primer dry for at least 10 minutes:
- Do not apply body primer to any remaining original adhesive on the flange.

- Be careful not to mix up the body and glass primer sponge applicators.

- Never touch the primed surfaces with your hands.





15. Cut a "V" in the end of nozzle (A) on the adhesive cartridge as shown.






16. Put the cartridge in a caulking gun, and run a continuous bead of adhesive (A) on the glass primer trace (B) you applied on step 13, and around the edge of the rear window (C) as shown.
Apply the adhesive within 30 minutes after applying the glass primer. Make a slightly thicker bead at each corner.

17. Hold the rear window over the opening with suction cups, align it with the alignment marks you made in step 11, and set it down on the adhesive. Lightly push on the rear window until its edges are fully seated on the adhesive all the way around.
NOTE: Do not open or close any of the doors for about one hour until the adhesive is dry.

18. Remove the excess adhesive with a putty knife or a shop towel dampened with isopropyl alcohol.

19. After the adhesive has dried, spray water over the rear window and check for leaks. Mark the leaking area, let the rear window dry, then seal with sealant. Let the vehicle stand for at least 4 hours after rear window installation. If the vehicle has to be used within the first 4 hours, it must be driven slowly.

20. Reinstall all remaining removed parts.
NOTE: Advise the customer not to do the following things for 2 to 3 days:

- Slam the doors with all the windows rolled up.

- Twist the body excessively (such as when going in and out of driveways at an angle or driving over rough, uneven roads).