Operation CHARM: Car repair manuals for everyone.
Manuals through 2025 now available!

Our trusted friends have launched a new website named LEMON, which has newer manuals. It also contains all the CHARM manuals.

LEMON is the spiritual successor to CHARM, I recommend you try it!

Link: lemon-manuals.la or lemon-manuals.org.ua

(Some people have issue connecting. LEMON is investigating. For now, use Firefox or change your DNS server)

Or, hide this message: temporarily or permanently

Utility Storage Compartment Lock: Service and Repair




Floor Well Cover Lock Cylinder Replacement

Special Tools Required

- KTC Trim Tool Set SOJATP2014
*

NOTE:

- Take care not to scratch the floor well cover.
- Use the appropriate tool from the KTC trim tool set to avoid damage when removing components.

1. Remove the floor well cover Floor Well Cover Replacement.

2. Remove the screws and the lock handle (A).






3. If necessary, remove the screws and the lock handle cover (A).






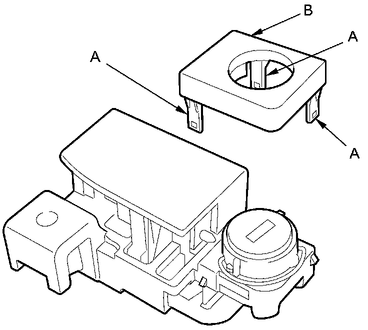
4. Release the hooks (A), then remove the lock cylinder cover (B).






5. Pull out one end of the retainer (A) of its slot with a hook-shaped tool, then remove the floor well cover lock cylinder (B).

NOTE: Wear eye protection during this step.





6. Insert the retainer into the lock body, then push the lock cylinder into the lock cylinder body unit it snaps into the retainer.

7. Install the floor well cover lock cylinder and the lock handle in the reverse order of removal.