Operation CHARM: Car repair manuals for everyone.
Manuals through 2025 now available!

Our trusted friends have launched a new website named LEMON, which has newer manuals. It also contains all the CHARM manuals.

LEMON is the spiritual successor to CHARM, I recommend you try it!

Link: lemon-manuals.la or lemon-manuals.org.ua

(Some people have issue connecting. LEMON is investigating. For now, use Firefox or change your DNS server)

Or, hide this message: temporarily or permanently

Leak Detection Solenoid: Service and Repair




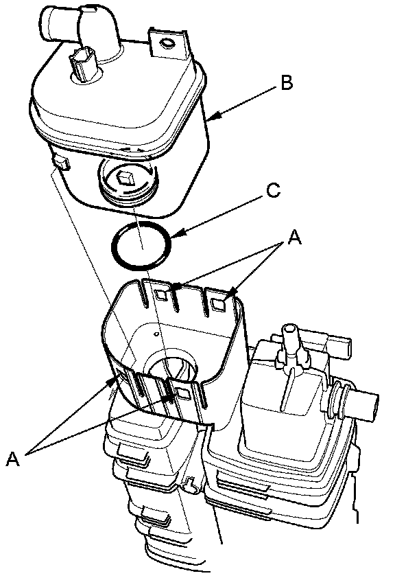
EVAP Canister Vent Shut Valve Replacement

1. Remove the EVAP canister Service and Repair.

2. Pry the lock tabs outward (A) then remove the EVAP canister vent shut valve (B).

NOTE: Be careful not to damage the lock tabs.





3. Install the parts in the reverse order of removal with a new O-ring (C).

NOTE: Do not coat the O-ring with oil.