Operation CHARM: Car repair manuals for everyone.
Manuals through 2025 now available!

Our trusted friends have launched a new website named LEMON, which has newer manuals. It also contains all the CHARM manuals.

LEMON is the spiritual successor to CHARM, I recommend you try it!

Link: lemon-manuals.la or lemon-manuals.org.ua

(Some people have issue connecting. LEMON is investigating. For now, use Firefox or change your DNS server)

Or, hide this message: temporarily or permanently

Steering Column Removal/Installation




Steering Column Removal and Installation

SRS components are located in this area. Review the SRS component locations Locations and the precautions and procedures Service and Repair before doing repairs or service.

Removal

1. Adjust the steering column to full tilt up position, and to the full telescopic in position.

2. Do the battery terminal disconnection procedure Procedures.

3. Remove the driver's airbag Driver's Airbag Replacement and the steering wheel Steering Wheel Removal.

4. Remove the column covers Steering Column Cover Removal/Installation.

5. Remove the footrest Service and Repair.

6. Remove the center console trim Center Console Removal/Installation.

7. Pull back the carpet (A).






8. Remove the steering joint cover (B).

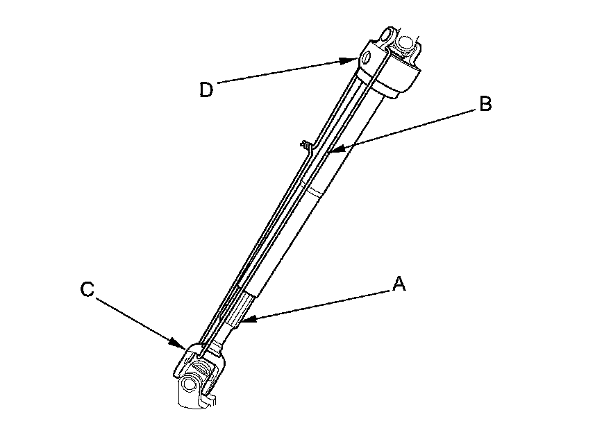
9. Hold the lower slide shaft (A) on the column with a piece of wire (B) between the joint yoke (C) of the lower slide shaft and joint yoke (D) of the upper shaft to prevent the lower slide shaft from pulling out.





10. Release the lock lever, and adjust the steering column to the full telescopic out position, then tighten the lock lever.

NOTE: Do not release the lock lever when removing the steering column from the frame.

11. Remove the steering joint bolt (A). Disconnect the steering joint (B) by sliding the steering joint into the column. Do not disconnect the steering joint from the column shaft (C).

NOTE:

- If the center guide (D) is in place and has not moved, leave it in place.
- If the center guide has come off, discard it.





12. Disconnect the wire harness connectors from the combination switch assembly/cable reel (A).





13. Remove the combination switch assembly/cable reel from the steering column shaft by removing the three screws (B).

14. Disconnect the connectors from the ignition switch, and release the wire harness clips from the steering column.

15. Make sure that the lock lever (C) is in the locked position. Remove the steering column (D) by removing the attaching nuts and bolts, and carefully guide it out of the dashboard. If the lower slide shaft (E) is removed, slip it into the upper shaft (F) by aligning the paint or stamped marks (G).

NOTE: Do not release the lock lever until the steering column is installed. If the lock lever is released beforehand, adjust the steering column after installation.

Installation

1. Install the steering column in the reverse order of removal, and note these items:

- Make sure the wires are not caught or pinched by any parts.
- Tighten the three screws (A) in the sequence shown.





2. Center the steering rack within its stroke.

3. Cut the wire (A), and slip the lower end of the steering joint (B) onto the pinion shaft (C).

NOTE:

- Pinion shaft with center guide; install the steering joint by aligning the center guide.
- Pinion shaft without center guide; position the steering column by aligning the gap (D) with the angle.





4. Align the bolt hole (A) on the steering joint with the groove (B) around the pinion shaft, then loosely install the steering joint bolt (C). Be sure that the joint bolt is securely in the groove in the pinion shaft.





5. Pull on the steering joint to make sure that the steering joint is fully seated, then tighten the joint bolt to the specified torque.

6. Install the steering joint cover (A).





7. Set the carpet in place (B).

8. Install the center console trim Center Console Removal/Installation.

9. Install the footrest Service and Repair.

10. Install the steering wheel Steering Wheel Installation, and the driver's airbag Driver's Airbag Replacement.

11. Install the steering column covers Steering Column Cover Removal/Installation.

12. Do the battery terminal reconnection procedure Procedures, and check these tasks:

- Turn the ignition switch to ON (II), and check that the SRS indicator comes on for about 6 seconds, and then goes off.
- Make sure the horn and turn signal switches work properly.
- Make sure the steering wheel switches work properly.

13. After installation, check these items:

- Check the steering wheel spoke angle. If the steering spoke angles to the right and left are not equal (steering wheel and rack are not centered), correct the engagement of the joint/pinion shaft splines.
- Set the steering column to the center tilt position, and to the center telescopic position, then do the front toe inspection Service and Repair.