Operation CHARM: Car repair manuals for everyone.
Manuals through 2025 now available!

Our trusted friends have launched a new website named LEMON, which has newer manuals. It also contains all the CHARM manuals.

LEMON is the spiritual successor to CHARM, I recommend you try it!

Link: lemon-manuals.la or lemon-manuals.org.ua

(Some people have issue connecting. LEMON is investigating. For now, use Firefox or change your DNS server)

Or, hide this message: temporarily or permanently

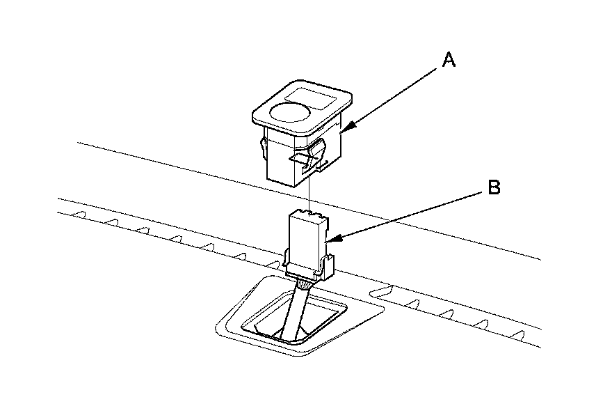
Solar Sensor: Service and Repair




Sunlight Sensor Replacement

1. Pull out the sunlight sensor (A) from the dashboard, and disconnect the connector (B), and remove the sunlight sensor. Be careful not to damage the sensor and the dashboard.






2. Install the sensor in the reverse order of removal.