Operation CHARM: Car repair manuals for everyone.
Manuals through 2025 now available!

Our trusted friends have launched a new website named LEMON, which has newer manuals. It also contains all the CHARM manuals.

LEMON is the spiritual successor to CHARM, I recommend you try it!

Link: lemon-manuals.la or lemon-manuals.org.ua

(Some people have issue connecting. LEMON is investigating. For now, use Firefox or change your DNS server)

Or, hide this message: temporarily or permanently

Spark Plug: Testing and Inspection




Spark Plug Inspection

1. Remove the ignition coils Service and Repair.

2. Remove the spark plugs, then inspect the electrodes and the ceramic insulator.

- Burned or worn electrodes may be caused by these conditions:
- Advanced ignition timing
- Loose spark plug
- Plug heat range too hot
- Insufficient cooling

- Fouled plugs may be caused by these conditions:
- Retarded ignition timing
- Oil in combustion chamber
- Incorrect spark plug gap
- Plug heat range too cold
- Excessive idling/low speed running
- Clogged air cleaner element
- Deteriorated ignition coils





3. If the spark plug electrode is dirty or contaminated, clean the electrode with a plug cleaner.

NOTE:

- Do not use a wire brush or scrape the iridium electrode since this will damage the electrode.
- When using a sand blaster spark plug cleaner, do not clean for more than 20 seconds to avoid damaging the electrode.

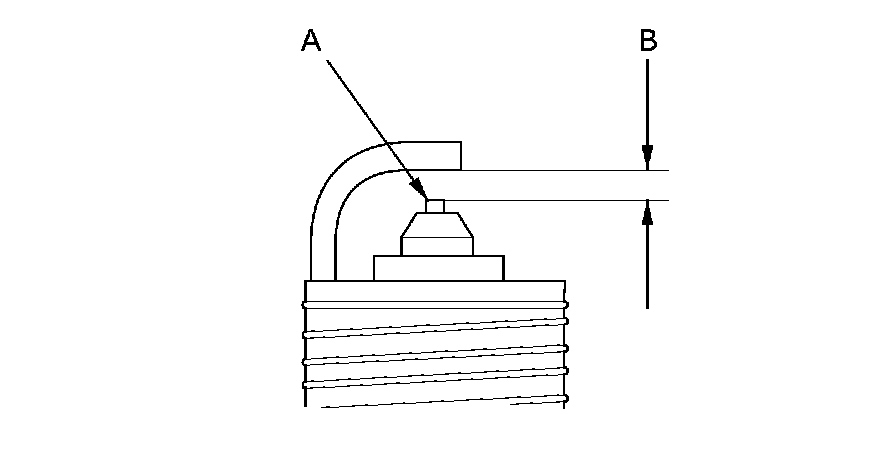
4. Replace the plug at the specified interval, or if the center electrode is rounded (A), or if the spark plug gap (B) is out of specification. Use only the spark plugs listed.

NOTE: Do not adjust the gap of iridium tip plugs.


















All models except PZEV





PZEV model





5. Apply a small amount of anti-seize compound to the plug threads, and screw the plugs into the cylinder head, finger-tight. Torque them to 18 Nm (1.8 kg-m, 13 lb-ft).