Operation CHARM: Car repair manuals for everyone.
Manuals through 2025 now available!

Our trusted friends have launched a new website named LEMON, which has newer manuals. It also contains all the CHARM manuals.

LEMON is the spiritual successor to CHARM, I recommend you try it!

Link: lemon-manuals.la or lemon-manuals.org.ua

(Some people have issue connecting. LEMON is investigating. For now, use Firefox or change your DNS server)

Or, hide this message: temporarily or permanently

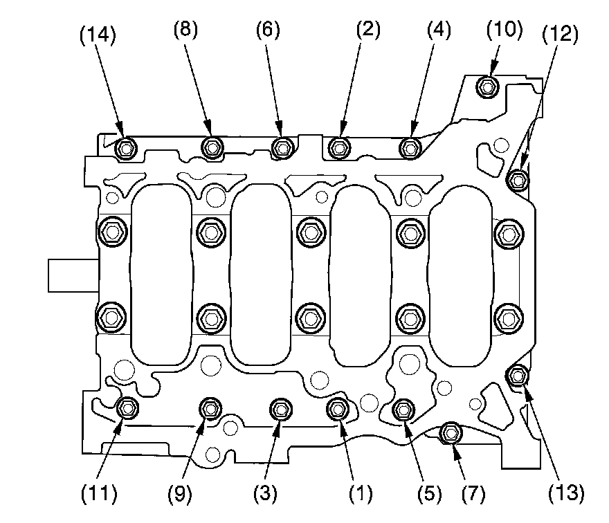
Crankshaft Main Bearing




Crankshaft bearing





Crankshaft bearing cap





Step 1 29 Nm (3.0 kg-m, 22 lb-ft)
Step 2 48°





8 mm bolts 22 Nm (2.2 kg-m, 16 lb-ft)

Block Bore Code Location





Main Journal Code Location








K24Z2 engine





K24Z3 engine